授权专利
用于唇腺活检操作的口唇固定器
公开(公告)号: CN221617306U
摘要附图:

标题: 用于唇腺活检操作的口唇固定器
专利类型: 实用新型
申请日: 2023-09-25
公开(公告)日: 2024-08-30
申请号: CN202322595247.X
发明人: 李欣
当前申请(专利权)人: 首都医科大学附属北京潞河医院
IPC分类号: A61B90/17
法律状态/事件: 授权
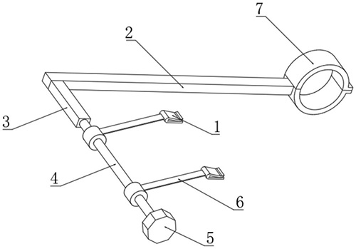
技术功效语段: [0016]固定架、横杆和调节杆的设计,能够使患者在进行唇腺活检前,可以使夹板在固定后,能够有效的支撑,保证夹板固定的稳定性,调节带和调节杆的转动,能够通过调节杆的转动,使调节带卷绕在调节杆上,从而能够更好的控制夹板将下嘴唇固定后,向外拉开,从而更好的便于医护人员进行相应的操作,调节杆的卷绕,能够适应不同类型的客户,可以根据不同的需求调节夹板向外张开的角度。[0017]弹性板的设计,能够利用弹性,对嘴唇的夹取固定更加的方便快捷,防滑橡胶层能够提高夹板对下嘴唇固定时的稳定性。[0018]固定框的设计,使固定架固定时,能够通过固定框与床沿相卡合固定,即可实现了固定架固定的稳定性,定位螺栓能够通过螺纹旋转的方式,实现固定架固定时的稳定性,更加的稳定。[0019]参照后文的说明和附图,详细公开了本实用新型的特定实施方式,指明了本实用新型的原理可以被采用的方式。应该理解,本实用新型的实施方式在范围上并不因而受到限制。[0020]针对一种实施方式描述和/或示出的特征可以以相同或类似的方式在一个或更多个其它实施方式中使用,与其它实施方式中的特征相组合,或替代其它实施方式中的特征。[0021]应该强调,术语“包括/包含”在本文使用时指特征、整件、步骤或组件的存在,但并不排除一个或更多个其它特征、整件、步骤或组件的存在或附加。
摘要: 本实用新型公开了一种用于唇腺活检操作的口唇固定器,包括夹板和固定架,所述固定架一端设有用于固定在床边的固定部,且固定架另一端设有固定连接的横杆,所述横杆端部设有可转动的调节杆,所述调节杆上设有对称分布且可卷绕在调节杆上的调节带,所述夹板与调节带固定连接。调节带和调节杆的转动,能够通过调节杆的转动,使调节带卷绕在调节杆上,从而能够更好的控制夹板将下嘴唇固定后,向外拉开,从而更好的便于医护人员进行相应的操作,调节杆的卷绕,能够适应不同类型的客户,可以根据不同的需求调节夹板向外来开的角度。

























