授权专利
腹腔镜手术辅助支架
公开(公告)号: CN221617307U
摘要附图:

标题: 腹腔镜手术辅助支架
专利类型: 实用新型
申请日: 2023-09-26
公开(公告)日: 2024-08-30
申请号: CN202322622626.3
当前申请(专利权)人: 首都医科大学附属北京潞河医院
IPC分类号: A61B90/50 | A61B1/00 | A61B1/313
法律状态/事件: 授权
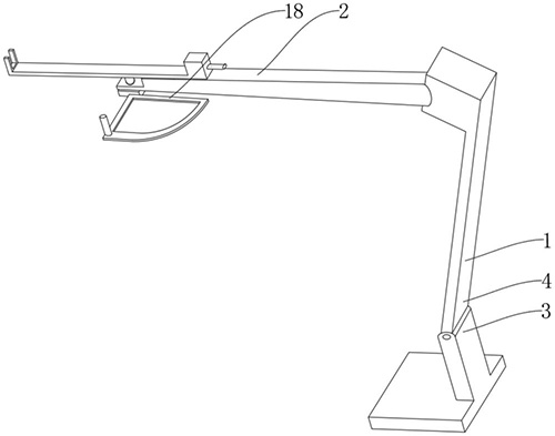
技术功效语段: [0020]1.本实用新型中,设置的导向架体能够相对于支架副体、支架本体自由旋转,从而带动导向架体上的腹腔镜自由旋转,使腹腔镜的插入角度得到调整,且调整角度的范围大,本实施方式中,腹腔镜的角度调整范围在180度内均可自由调整,提高结构集成度,实用性较强。[0021]2.本实用新型中,为了更稳定地安装腹腔镜,所述导向架体的一端部具有限位夹,导向架体的另一端部向上凸出并设有限位槽,且限位槽具有供腹腔镜插入的开口,开口内设有限位件。限位件的设置用于将腹腔镜的末端锁定或松开,且锁定、松开之间切换方便,相比于现有技术,提高装配、使用效率。
摘要: 本实用新型公开了腹腔镜手术辅助支架,具体涉及腹腔手术技术领域,包括:腹腔镜、支架本体、支架副体以及底座体,所述底座体为平板状,底座体的上端设有铰接座,且底座体通过铰接座活动连接支架本体,支架本体向上方延伸设置,且支架本体的上端部具有接块;所述支架副体沿横向的水平方向设置,支架副体、支架本体之间可活动地连接,支架副体远离支架本体的端部设有导向架体;设置的导向架体能够相对于支架副体、支架本体自由旋转,从而带动导向架体上的腹腔镜自由旋转,使腹腔镜的插入角度得到调整,且调整角度的范围大,本实施方式中,腹腔镜的角度调整范围在180度内均可自由调整,提高结构集成度,实用性较强。

























