授权专利
一种儿科护理喂药器
公开(公告)号: CN221617940U
摘要附图:

标题: 一种儿科护理喂药器
专利类型: 实用新型
申请日: 2023-10-18
公开(公告)日: 2024-08-30
申请号: CN202322793539.4
发明人: 雷青
当前申请(专利权)人: 首都医科大学附属北京潞河医院
IPC分类号: A61J7/00
法律状态/事件: 授权
技术功效语段: [0012]本实用新型与现有技术相比的优点在于:本实用新型在喂儿童喝药时,在内管中放有药液的同时在外管中放入儿童不抵触的牛奶等一些有颜色的饮料,可让儿童在还没察觉并未产生抵触心理时,以为在喝牛奶等有颜色的饮料时将药液喝下,可避免儿童挣扎不配合喝药的情况。
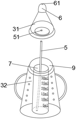
摘要: 本实用新型公开了一种儿科护理喂药器,包括杯本体,所述的杯本体包括杯盖、杯身、杯把和吸管,所述的杯身包括上杯身和下杯身,所述的下杯身上端一体连接杯口,所述的下杯身通过杯口可拆卸连接上杯身,所述的上杯身顶端设有乳胶嘴,所述的乳胶嘴顶端设有饮孔,所述的下杯身包括内管和外管,所述的内管可拆卸连接在外管内侧,所述的上杯身底部中心设有吸管口,所述的内管内设有吸管,吸管上端贯穿吸管口并连通到饮孔处。本实用新型与现有技术相比的优点在于:本实用新型在喂药时,在内管放药液后在外管放儿童不抵触的牛奶等有颜色饮料,让儿童在没察觉并未产生抵触心理,以为在喝牛奶等有颜色的饮料时喝下药液,避免儿童挣扎不配合喝药的情况。

























