授权专利
【实用新型】一种神经外科手术用头部固定装置
公开(公告)号: CN210812277U
摘要附图:

标题: 一种神经外科手术用头部固定装置
专利类型: 实用新型
申请日: 2019-09-16
公开(公告)日: 2020-06-23
发明人: 郑仕奇
当前申请(专利权)人: 首都医科大学附属北京潞河医院
IPC分类号: A61G13/12
法律状态/事件: 未缴年费
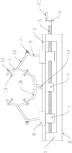
技术功效: [0006]采用以上结构后,本实用新型具有以下优点:本实用新型采用整体吸盘的形式,可将神经外科手术用头部固定装置牢固的固定在手术台上,螺杆左右两端旋向不同转动转盘时可同时操作定位块两端的滑块相对或者相向运动,操作简单,支撑杆和连接杆采用铰接的方式,可以调节支撑杆和连接杆的相对位置从而调节弧形板的角度和高度,适用于各类患者,实用性好,通过调节螺栓的作用可调节固定板的位置从而将患者的头部用固定板固定,固定板分布在弧形板上,可以多角度对患者的头部进行固定,另外固定板较小在手术过程中不会影响医生的视线,颈部固定架的设置可以缓解患者在手术过程中因颈部悬空造成的不适感,增加患者的舒适度,颈部固定架和头部固定架的高度均可以调节,可以适应不同的患者需求,在手术过程中,医护人员也可根据实际情况对患者进行调整,更加方便。
摘要: 本实用新型公开了一种神经外科手术用头部固定装置,包括U型架(1),所述U型架(1)上方沿宽度方向连接设有固定杆(3),所述固定杆(3)底部中间连接设有定位块(4),所述滑块(8)上方连接设有支撑杆(9),所述支撑杆(9)上铰接设有连接杆(10),所述连接杆(10)上连接设有弧形板(11),所述弧形板(11)上连接设有若干调节螺栓(12),所述调节螺栓(12)上连接设有固定板(15),所述U型架(1)上方沿长度方向连接设有固定架(14),所述轴承(17)上分别连接设有颈部固定架(18)和头部固定架(19)。本实用新型与现有技术相比优点在于:操作方便、结构合理、固定牢靠、可调整角度、使用舒适。

























