授权专利
【实用新型】一种透析管路固定器
公开(公告)号: CN211461488U
摘要附图:

标题: 一种透析管路固定器
专利类型: 实用新型
申请日: 2019-12-05
公开(公告)日: 2020-09-11
发明人: 马超
当前申请(专利权)人: 首都医科大学附属北京潞河医院
IPC分类号: A61M1/16 | A61M25/02
法律状态/事件: 授权 | 权利转移
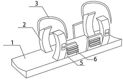
技术功效: [0015]与现有技术相比,本实用新型的技术优势在于: [0016]本实用新型结构简单,有效避免了透析管路的重叠、挤压或折死弯等问题,加快医疗速度,节省时间,节省资源,可重复利用。底托、手臂卡槽和透析管固定板采用天然橡胶塑膜成型,环保健康,坚固耐用,当患者使用完管路固定器后,医护人员可直接取下清洗消毒完毕后,下一位患者可直接使用,节省资源做到100%重复利用;扣带采用弹力松紧反扣工艺,材质为尼龙线3D编织,柔软舒适,透气排汗;卡扣材质为环保橡胶采用防脱落措施,确保扣带稳定;透析管卡槽设置方便手掌活动又保证管路不受手掌活动导致凌乱,为患者手掌预留活动空间,提高患者体验。
摘要: 一种透析管路固定器,包括底托,以及固定在底托上的手臂固定组件和透析管固定组件;手臂固定组件包括手臂卡槽和卡槽固定带,手臂卡槽的顶部开口,底部与底托固连;卡槽固定带设于手臂卡槽的顶部开口上;透析管固定组件设于手臂固定组件的一侧,包括透析管固定板和透析管卡槽,透析管固定板垂直底托设置,底部与底托固定;透析管卡槽设于透析管固定板上,朝向手臂固定组件的一侧开口;透析管固定板所在平面与手臂卡槽所在平面垂直设置,透析管卡槽为条形槽,其平行底托设置,长度与透析管固定板的宽度相等。本实用新型结构简单,有效避免了透析管路的重叠、挤压或折死弯等问题,加快医疗速度,节省时间,节省资源,可重复利用。

























