授权专利
【实用新型】一种神经外科手术引流支架
公开(公告)号: CN209378111U
摘要附图:

标题: 一种神经外科手术引流支架
专利类型: 实用新型
申请日: 2018-08-28
公开(公告)日: 2019-09-13
发明人: 侯自明
当前申请(专利权)人: 首都医科大学附属北京潞河医院
IPC分类号: A61M1/00
法律状态/事件: 未缴年费
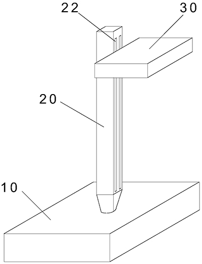
技术功效: [0005]本实用新型提供的神经外科手术引流支架,用以解决现有调节支架高度操作麻烦的缺陷。 [0010]本实用新型的有益效果为: [0011]本实用新型提供的神经外科手术引流支架,通过驱动电机将动力传递给驱动齿轮,驱动齿轮在齿条上行走,从而带动调节板在滑槽中上下滑动,实现电动调节支架高度的效果,减少手动调节的麻烦。 [0012]本实用新型的其它特征和优点将在随后的说明书中阐述,并且,部分地从说明书中变得显而易见,或者通过实施本实用新型而了解。本实用新型的目的和其他优点可通过在说明书、权利要求书、以及附图中所特别指出的结构来实现和获得。
摘要: 本实用新型提供了一种神经外科手术引流支架,包括底座、调节管和调节板,调节管垂直设置在底座上,调节管内部沿高度方向设置齿条,调节管的侧面对称于齿条的两侧设置滑槽,两个滑槽中均插入设置滑杆,滑杆位于调节管内部的端部均通过轴承连接设置驱动齿轮,两个驱动齿轮分别与齿条两侧的齿啮合,其中任意一个滑杆远离驱动齿轮的一端连接有驱动电机,驱动电机的输出轴与滑杆连接,驱动电机固定设置在调节板上,另一个滑杆远离驱动齿轮的一端与调节板固定连接。根据本实用新型的神经外科手术引流支架,能够实现电动调节支架高度,减少手动调节的麻烦。

























