授权专利
【实用新型】一种辅助侧位分娩腿架
专利号:ZL202021634637.3
申请日:20200808
发明人:许琳妍
法律状态:授权
公开号:CN213406805U
授权公告日:2021-06-11
交易方式:转让; 许可
【摘要】:
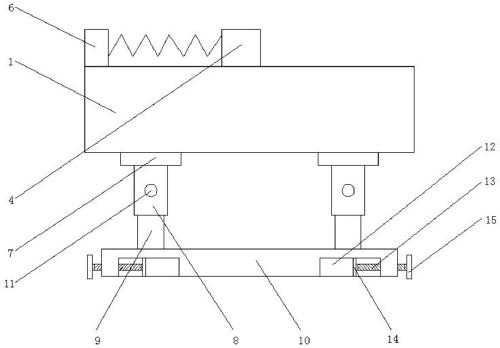
本实用新型公开了一种辅助侧位分娩腿架,包括底板,所述底板的上表面对称开设有滑槽,两个所述滑槽的内部均分别滑动连接有滑块,两个所述滑块的上表面均固定连接有同一个蹬板,所述蹬板的一侧外壁固定连接有弹簧,所述弹簧远离蹬板的一端固定连接有安装板, 所述底板的下表面对称固定连接有圆盘,两个所述圆盘的下表面均分别固定连接有套筒,两个所述套筒的内部均分别滑动连接有套杆,两个所述套杆的底端均固定连接有同一个固定板。本实用新型设计简单,操作方便,方便产妇对其进行使用,有利于她用上力气;并且还使得底板的位置高度发生变化,这样可以针对不同的产妇。
【技术领域】:
本实用新型涉及分娩腿架技术领域,具体为一种辅助侧位分娩腿架。
【实用新型内容】:
本实用新型提供如下技术方案:一种辅助侧位分娩腿架,包括底板,所述底板的上表面对称开设有滑槽,两个所述滑槽的内部均分别滑动连接有滑块,两个所述滑块的上表面均固定连接有同一个蹬板,所述蹬板的一侧外壁固定连接有弹簧,所述弹簧远离蹬板的一端固定连接有安装板,所述底板的下表面对称固定连接有圆盘,两个所述圆盘的下表面均分别固定连接有套筒,两个所述套筒的内部均分别滑动连接有套杆,两个所述套杆的底端均固定连接有同一个固定板。
作为本实用新型的一种优选实施方式,所述蹬板位于底板的上表面,所述蹬板与底板之间滑动连接。
作为本实用新型的一种优选实施方式,所述安装板位于底板的上表面,所述安装板与底板之间固定连接。
作为本实用新型的一种优选实施方式,所述套筒的前侧外壁设有固定栓,所述套筒通过固定栓与套杆之间固定连接。
作为本实用新型的一种优选实施方式,所述固定板的下表面对称开设有凹槽,所述固定板的两侧外壁均分别螺纹套接有螺杆,两个所述螺杆相对的一端均分别转动连接有压板,两个所述螺杆相向的一端均分别固定连接有转盘。
与现有技术相比,本实用新型的有益效果如下:
本实用新型的一种辅助侧位分娩腿架,在在侧卧位时,产妇的腿因为侧着身子有一条腿搭载在底板上,这样腿在上面的话有这个底板支撑着,通过一个侧位分娩腿底板在上面搭着,又能充分地暴露会阴,腿搭在上面的底板上,底板上具有蹬板脚可以以蹬腿的形式蹬在蹬板能用的上力气;并且通过设置有套筒和套杆,将固定栓从套筒上拆卸下来,然后将底板的位置升高,底板带动套筒移动,套筒与套杆之间滑动连接,使得底板的位置高度发生变化,这样可以针对不同的产妇;还可以通过转动转盘,转盘带动螺杆进行转动,螺杆发生移动,螺杆推动着压板进行移动,这样可以将该装置给固定住,不易发生晃动;本实用新型设计简单,操作方便,方便产妇对其进行使用,有利于她用上力气;并且还使得底板的位置高度发生变化,这样可以针对不同的产妇。
【附图】:



























