授权专利
【实用新型】心电监护仪的电路线收纳装置
专利号:ZL202022838698.8
申请日:20201130
发明人:刘霞
法律状态:授权
公开号:CN214286267U
授权公告日:2021-09-28
交易方式:转让; 许可
【摘要】:
本实用新型公开了一种改进型导尿管,包括:导尿管,导尿管水平放置;导尿管的前端设置有插入管;插入管的弧形侧面沿其圆周方向开设有多个排液孔,排液孔均通过导尿管内的排液通道与导尿管端部的排液口连通;插入管与导尿管连接处设置有气囊,导尿管的外弧形侧面靠近其端部处固定连通有充气管,气囊通过导尿管内的气体通道与充气管连通;插入管的弧形侧面沿其圆周方向开设有注药孔,导尿管的外弧形侧面靠近其端部处固定连通有辅助管,辅助管倾斜放置,辅助管的端部固定连接有螺纹,注药孔通过导尿管内的注药通道与辅助管连通。通过对导尿管的改进,防止导尿管长时间使用导致堵塞,影响导尿管使用。
【技术领域】:
本实用新型涉及医疗辅助器械相关技术领域,更具体地,涉及一种改进型导尿管。
【实用新型内容】:
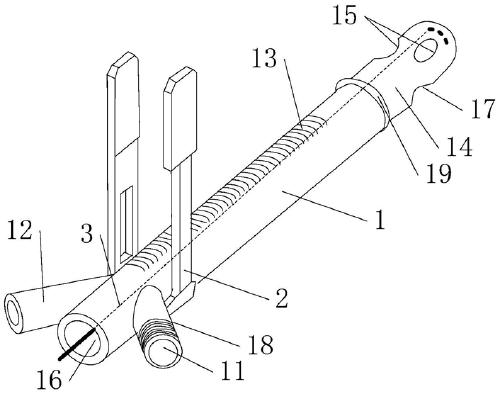
本实用新型提供了一种改进型导尿管,包括:导尿管,所述导尿管水平放置;所述导尿管的前端设置有插入管,所述插入管与导尿管一体平滑连接;
所述插入管远离导尿管的一端为弧形结构,所述插入管的弧形侧面沿其圆周方向开设有多个排液孔,所述排液孔均通过导尿管内的排液通道与导尿管端部的排液口连通;
所述插入管与导尿管连接处设置有气囊,所述导尿管的外弧形侧面靠近其端部处固定连通有充气管,所述气囊通过导尿管内的气体通道与充气管连通;
所述插入管的弧形侧面沿其圆周方向开设有注药孔,所述导尿管的外弧形侧面靠近其端部处固定连通有辅助管,所述辅助管倾斜放置,所述辅助管的端部固定连接有螺纹,所述注药孔通过导尿管内的注药通道与辅助管连通。
可选的,所述导尿管的外弧形侧面在气囊至导尿管端部之间设置有多个刻度线,所述多个刻度线沿导尿管的长度方向设置。
可选的,还包括导丝,所述导丝为由所述导尿管端部的排液口延伸至所述插入管远离导尿管的一端,所述导丝靠近所述插入管远离导尿管的一端具有30°角的弧度。
可选的,所述导丝的两端均设有堵头。
可选的,所述导尿管的弧形侧面一端竖直设置有固定机构,所述固定机构与导尿管固定连接,所述固定机构包括连接板,所述连接板套置并固定在导尿管上,所述连接板的两水平侧面分别竖直固定连接有第一绑带和第二绑带。
可选的,所述连接板为弧形结构,所述连接板靠近导尿管的弧形侧面设置有胶贴。
可选的,所述第一绑带的竖直侧面的设置有穿孔,所述穿孔沿第一绑带长度方向设置,所述第一绑带竖直侧面远离连接板的一端固定连接有第一魔术贴,所述第二绑带竖直侧面远离连接板的一端固定连接有第二魔术贴。
与现有技术相比,本实用新型提供的改进型导尿管,至少实现了如下的有益效果:通过对导尿管的改进,增加排液孔的数量,防止导尿管经长时间使用导致堵塞,影响导尿管使用,大气囊的使用,可有效防止溢尿及防脱管,且同时可准确控制插入的深度,增加插入成功效率,通过辅助腔的螺纹结构可与无针输液器或注射器连接,可有效减少针刺伤的发生率,并通过固定机构的设置便于在安装导尿管后将本实用新型固定在患者的腿部,通过第一绑带、第二绑带、第一魔术贴和第二魔术贴的设置便于将导尿管固定在患者腿部,并根据需要快速拆装,以改变现存的胶带固定导尿管造成患者腿部机械性损伤的现状。
【附图】:




























