授权专利
【实用新型】一种俯卧位管路支撑垫
专利号:ZL202022207242.1
申请日:20200930
发明人:刘爽
法律状态:授权
公开号:CN213553358U
授权公告日:2021-06-29
交易方式:转让; 许可
【摘要】:
本实用新型涉及医疗器材技术领域,公开了一种俯卧位管路支撑垫,包括床面,所述床面的上表面前端活动放置有啫喱垫,且床面的上表面位于啫喱垫的后方活动放置有膝关节垫,所述床面的上表面后端活动放置有下头架板,所述下头架板的上方安装有上头架板,所述下头架板和上头架板的边缘之间固定连接橡胶膜,本实用新型通过设置有滑槽,两个体位垫板在滑槽中滑动并通过定位块固定,使整个装置可适用于不同体型的病人,下头架板和上头架板之间的伸缩杆和弹簧可以对病人头部进行缓冲,让病人有舒适的感受,固管组件中的两个固管块通过转动把手将病人身上连接的引流管、尿管、呼吸管等固定紧,防止管子滑落,也防止不小心被扯掉而造成病人的危险。
【技术领域】:
本实用新型涉及医疗器材技术领域,具体是一种俯卧位管路支撑垫。
【实用新型内容】:
一种俯卧位管路支撑垫,包括床面,所述床面的上表面前端活动放置有啫喱垫,且床面的上表面位于啫喱垫的后方活动放置有膝关节垫,所述床面的上表面后端活动放置有下头架板,所述下头架板的上方安装有上头架板,所述下头架板和上头架板的边缘之间固定连接橡胶膜,且下头架板和上头架板之间安装有若干个限位杆,所述限位杆的内部弹性连接有伸缩杆,且限位杆的外表面活动套接有弹簧,所述上头架板的上表面后端固定连接有第一头架块,且上头架板的上表面左下角和右下角均固定连接有第二头架块。
作为本实用新型再进一步的方案:所述床面的上表面靠近中间位置处活动放置有支撑板,所述支撑板的上表面前后端均开设有滑槽,且支撑板的上表面开设有若干个定位孔,所述支撑板的上表面左右两侧均固定连接有体位垫板,所述体位垫板的一侧表面固定连接有两个定位块,且体位垫板的上表面固定连接有乳胶垫,所述上头架板的左侧表面中间位置处和支撑板的前后表面中间位置处均设置有固管组件。
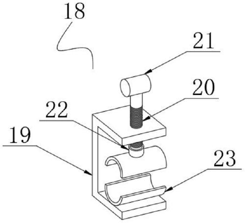
作为本实用新型再进一步的方案:所述固管组件包括固定架,所述固定架的上端贯穿且啮合连接有转动杆,所述转动杆的上端固定连接有把手,且转动杆的下端固定连接有限位块,所述限位块的下端和固定架的内部底面均安装有固管块。
作为本实用新型再进一步的方案:所述限位杆的下端固定连接在下头架板的上表面上,所述伸缩杆的上端固定连接有上头架板的下表面上。
作为本实用新型再进一步的方案:所述体位垫板滑动连接在滑槽的内部,所述定位块的下表面贴合支撑板的上表面,所述定位孔对齐定位块。
作为本实用新型再进一步的方案:三个所述固定架分别固定连接在上头架板的左侧表面中间位置处和支撑板的前后表面中间位置处,所述转动杆的下端转动连接在限位块的内部。
与现有技术相比,本实用新型的有益效果是:
1、本实用新型通过设置有滑槽,两个体位垫板可以在滑槽中滑动并通过定位块固定,使整个装置可适用于不同体型的病人,下头架板和上头架板之间的伸缩杆和弹簧可以对病人头部进行缓冲,让病人有舒适的感受。
2、本实用新型通过设置有固管组件,固管组件中的两个固管块可以通过转动把手将病人身上连接的引流管、尿管、呼吸管等固定紧,防止管子自身重量而滑落,也防止其不小心被扯掉而造成病人的危险。
【附图】:





























