授权专利
一种足踝足弓肌力训练装置
公开(公告)号: CN220572609U
摘要附图:

标题: 一种足踝足弓肌力训练装置
专利类型: 实用新型
申请日: 2023-07-12
公开(公告)日: 2024-03-12
发明人: 陈英武
当前申请(专利权)人: 首都医科大学附属北京潞河医院
IPC分类号: A63B23/08 | A63B23/10 | A63B21/02 | A63B21/045
法律状态/事件: 授权
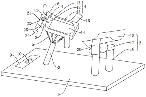
技术功效语段: [0015]腿托架用于支撑腿部,患者将脚放置到足托板上,并且将脚伸入到槽孔内,此时可以做主动跖屈、背伸、内翻、外翻等动作,第一复位件对足托板施加复位力,同时对患者提供训练阻力,可以使此足踝足弓肌力训练装置用于恢复期及强化训练,而且此种结构可以完成跖屈、背伸、内翻、外翻全部的动作,训练功能完全。[0016]应当理解的是,以上的一般描述和后文的细节描述仅是示例性和解释性的,并不能限制本申请。
摘要: 本实用新型提供了一种足踝足弓肌力训练装置,涉及康复训练设备技术领域,解决了现有技术中存在的只适用于损伤早期患者以及训练功能不完全的技术问题。该装置包括底座、腿托架、支撑杆、足托板、第一复位件以及足限位部,所述腿托架设置在所述底座上,所述支撑杆设置在所述腿托架一侧的所述底座上,所述支撑杆通过所述第一复位件与所述足托板连接,所述足托板远离所述腿托架的一端上部设置所述足限位部,所述足限位部和所述足托板之间具有供脚伸入的槽孔。患者脚伸入槽孔内,可以做主动跖屈、背伸、内翻、外翻等动作,而且第一复位件为患者训练提供阻力适用于恢复期及强化训练,同时训练功能完全。

























