授权专利
一种用于检验科的样品存放器
公开(公告)号: CN220577865U
摘要附图:

标题: 一种用于检验科的样品存放器
专利类型: 实用新型
申请日: 2023-08-28
公开(公告)日: 2024-03-12
发明人: 左哲
当前申请(专利权)人: 首都医科大学附属北京潞河医院
IPC分类号: B65D25/10 | B65D81/05 | B65D81/18 | B65D81/07
法律状态/事件: 授权
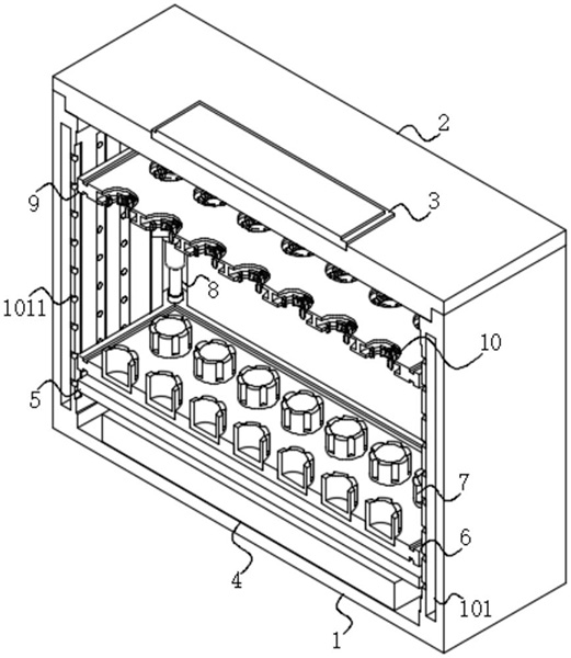
技术功效语段: [0017]1、本实用新型通过设置下挡板、衔接组件和上挡板,在使用时,通过衔接组件可调整下挡板和上挡板之间的间距,使其适用于任何高度规格的试管,并且下挡板通过橡胶柱对试管的底部进行承托,并不需要试管完全穿过下挡板,因此可避免掉落现象,解决了上述的检验科用样品存放箱,其采用第一放置板和第二放置对试管进行卡接,并且通过第一放置板和第二放置板上的第一夹持块和弹性夹持块对试管进行夹持,并且第一放置板和第二放置板之间通过连接杆连接,且放置板之间的区间不可调,因此对于部分长度较短的试管以及过长的试管则无法起到承载和夹持效果。[0018]2、本实用新型通过设置阻挡板、阻尼器、下挡板,在使用时,阻挡板上侧壁设置有阻尼器,通过阻尼器可对下挡板进行减震效果,而下挡板又通过衔接组件与上挡板接触,即又达到减少上挡板震动的效果,解决了上述的检验科用样品存放箱,其中用于卡接试管的第一放置板和第二放置板通过固定板直接装配在存放箱的内壁上,相互之间为固定结构,因此在运输时会产生一定的颠簸或者存放箱的晃动现象,进而造成存放箱内的试管晃动,而试管的夹持又为弹性夹持块的弹性夹持,并不稳定,因而会产生掉落或者撞击现象的问题。
摘要: 本实用新型公开了一种用于检验科的样品存放器,涉及医疗器材技术领域。本实用新型包括箱体、上盖、控制器和制冷器,箱体的上侧壁盖设有上盖,且箱体的内部底侧设有制冷器,上盖的上侧壁镶嵌有控制器,箱体的内部底侧卡接有阻挡板,且阻挡板的上侧壁镶嵌有阻尼器,阻挡板通过阻尼器与下挡板的底部侧壁抵接,下挡板的上侧壁粘接有橡胶柱,下挡板的角落处设置有衔接组件,且下挡板通过衔接组件与上挡板连接,上挡板中开设有多个收纳孔,且收纳孔的内壁上安装有夹持组件。本实用新型通过利用衔接组件可调整下挡板与上挡板之间的间距使其适配与不同高度尺寸的试管,通过利用橡胶柱、阻尼器和阻挡板可避免试管掉落以及减少震动的目的。

























