授权专利
【实用新型】可折叠式称重餐盘
公开(公告)号: CN217218673U
摘要附图:

标题: 可折叠式称重餐盘
专利类型: 实用新型
申请日: 2022-04-19
公开(公告)日: 2022-08-19
发明人: 许洪蕊
当前申请(专利权)人: 首都医科大学附属北京潞河医院
IPC分类号: A47G19/02 | A47G23/12
法律状态/事件: 授权
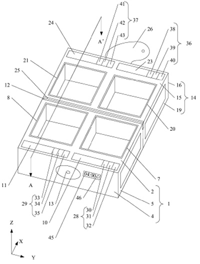
技术功效: [0018]1、本实用新型提供的可折叠式称重餐盘中盒体分别设置于第一凹槽、第二凹槽、第三凹槽和第四凹槽内,不同凹槽内的盒体用于盛放不同种类的食物,保证食物种类的分配,也有助于控制摄入食物营养均衡。 [0019]2、本实用新型提供的可折叠式称重餐盘中第一凹槽内设有第一电子秤、第二凹槽内设有第二电子秤、第三凹槽内设有第三电子秤,第四凹槽内设有第四电子秤;第一显示屏与第一电子秤电连接、第二显示屏与第二电子秤电连接、第三显示屏与第三电子秤电连接、第四显示屏与第四电子秤电连接,能够对不同盒体内的食物分别称重,实现食物重量的精准控制,并且通过显示屏进行重量显示,方便准确。 [0020]3、本实用新型提供的可折叠式称重餐盘中第二表面与第一表面的夹角处设有铁条,第四表面设有第一连接部,第七表面与第十表面的夹角处设有磁铁条,磁铁条与铁条可拆卸连接,第八表面设有第二连接部,第二连接部与第一连接部可拆卸连接,当餐盘打开进行使用时,沿第二方向上,第二表面与第十表面重合,铁条和磁铁条吸合将第一餐盘和第二餐盘进行连接;当餐盘使用完毕处于收纳状态时,沿第一方向上,第一表面与第七表面重合,铁条和磁铁条吸合,第一连接部与第二连接部进行连接,将第一餐盘和第二餐盘进行折叠,便于携带,方便轻巧。 [0021]当然,实施本实用新型的任一产品必不特定需要同时达到以上所述的所有技术效果。 [0022]通过以下参照附图对本实用新型的示例性实施例的详细描述,本实用新型的其它特征及其优点将会变得清楚。
摘要: 本实用新型公开了一种可折叠式称重餐盘,包括:第一餐盘和第二餐盘;第一餐盘包括内设第一电子秤的第一凹槽和内设第二电子秤的第二凹槽,第一餐盘的第二表面与第一表面的夹角处设有铁条,第四表面设有第一连接部和倒计时器,倒计时器包括计时按钮;第二餐盘包括内设第三电子秤的第三凹槽和内设第四电子秤的第四凹槽,第二餐盘的第七表面与第十表面的夹角处设有磁铁条,第八表面设有第二连接部,盒体分别设置于第一凹槽、第二凹槽、第三凹槽和第四凹槽内。通过将对不同盒体内的食物分别称重,实现食物重量的精准控制。铁条和磁铁条可拆卸连接,第一连接部与第二连接部可拆卸连接,便于将第一餐盘和第二餐盘进行折叠,便于携带,方便轻巧。

























