授权专利
【实用新型】感应式病床
公开(公告)号: CN217366353U
摘要附图:

标题: 感应式病床
专利类型: 实用新型
申请日: 2022-04-13
公开(公告)日: 2022-09-06
发明人: 谢晓宁
当前申请(专利权)人: 首都医科大学附属北京潞河医院
IPC分类号: A61G7/00 | A61G7/05
法律状态/事件: 授权
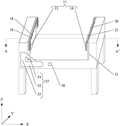
技术功效: [0022]本实用新型提供的感应式病床中第一板件的凸起支撑第一导轨,第一导轨远离的床头的一侧滑动连接有第一红外线发射器和第二红外线发射器;第二板件的凸起支撑第二导轨,第二导轨远离床尾的一侧滑动连接有第一红外线接收传感器和第二红外线接收传感器,固定好红外线发射器和红外线接收传感器的位置,使红外线发射器发出的红外线不断地被相对设置的红外线接收传感器所接收,患者想要离开床体或体位发生改变时会阻挡红外线,导致红外线接收传感器无法接收红外线。病房呼叫器与第一红外线接收传感器、第二红外线接收传感器无线电连接,当红外线接收传感器无法接收到红外线时,连通病房呼叫器通知医护人员,防止患者发生危险或是保证治疗的顺利进行,结构简单、成本也较低、效果好。 [0023]当然,实施本实用新型的任一产品必不特定需要同时达到以上所述的所有技术效果。 [0024]通过以下参照附图对本实用新型的示例性实施例的详细描述,本实用新型的其它特征及其优点将会变得清楚。
摘要: 本实用新型公开了一种感应式病床,包括:床板、板件、导轨和病房呼叫器,导轨包括第一导轨和第二导轨,第一导轨远离的床头的一侧滑动连接有第一红外线发射器和第二红外线发射器;第二导轨远离床尾的一侧滑动连接有第一红外线接收传感器和第二红外线接收传感器;病房呼叫器,与第一红外线接收传感器、第二红外线接收传感器无线电连接。通过当病人离开床或是改变体位而阻挡红外线接收传感器接收红外线发射器发出的红外线时,连通病房呼叫器通知医护人员,防止患者发生危险或是保证治疗的顺利进行,结构简单、成本也较低、效果好。

























