授权专利
【实用新型】一种智能疫苗管理柜
公开(公告)号: CN216995331U
摘要附图:

标题: 一种智能疫苗管理柜
专利类型: 实用新型
申请日: 2022-04-08
公开(公告)日: 2022-07-19
发明人: 吴艳
当前申请(专利权)人: 首都医科大学附属北京潞河医院
IPC分类号: B65D6/06 | B65D25/24 | B65D81/18 | F25D11/00 | F25D25/02
法律状态/事件: 授权
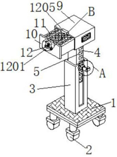
技术功效: [0012]与现有技术相比,本实用新型具有如下有益效果:当需要移动管理柜(这里指的是疫苗冷藏柜)时,推动管理柜的移动,万向轮能很好的推动管理柜,当管理柜移动到合适位置后,拉动疫苗冷藏柜的上下移动,疫苗冷藏柜带动内柱的上下移动,内柱顺着空心壳内部直线上下移动(内柱的横截面与空心壳的内部横截面相同,内柱能很好的顺着空心壳直线移动),能很好的调节管理柜的高度,当管理柜的高度调节完成后,给电动液压杆通入内置电瓶电源,通过电动液压杆的控制器控制电动液压杆的伸长,电动液压杆带动凸块的向凹槽位置移动,从而将凸块插入凹槽中,即可将内柱与空心壳的位置固定住,也就将疫苗冷藏柜的高度固定住,能很好根据当场要求调节疫苗冷藏柜的高度,方便医生取放疫苗,本实用给电磁铁通入内置电瓶电源,打开电磁铁的开关,电磁铁产生磁性对铁质三角块进行吸附从而带动铁质三角块的向下移动,伸缩杆也跟着缩短,同时挤压高弹性弹簧,即可来回抽动抽屉完成管理柜的开关,当抽屉插入疫苗冷藏柜中后,关闭电磁铁的开关,电磁铁不再对铁质三角块产生吸附力,高弹性弹簧开始反向伸长从而带动铁质三角块的向上移动,同时伸缩杆也跟着伸长(伸缩杆能维持铁质三角块的直线移动),铁质三角块向上插入三角块槽座,即可将抽屉的位置固定住,从而将管理柜关闭,操作十分简单。
摘要: 本实用新型公开了一种智能疫苗管理柜,包括配重底块,所述配重底块的顶端安装有空心壳且空心壳的内部滑动连接有内柱,所述内柱的表面开设有凹槽,所述空心壳的侧端固定连接有L型板且L型板的表面安装有电动液压杆,所述电动液压杆的表面安装有凸块,所述内柱的顶端安装有疫苗冷藏柜且疫苗冷藏柜内部安装有抽屉,所述抽屉的内部安装有疫苗限位槽,所述抽屉的表面安装有固定组件且固定组件包括电磁铁、伸缩杆、铁质三角块、高弹性弹簧和三角块槽座,本实用新型方便移动,并且能调节管理柜的高度,而且管理柜开关简单。

























