授权专利
【实用新型】一种跖楔关节固定背板及穿孔辅助工具
公开(公告)号: CN217014185U
摘要附图:

标题: 一种跖楔关节固定背板及穿孔辅助工具
专利类型: 实用新型
申请日: 2021-09-22
公开(公告)日: 2022-07-22
发明人: 刘继 | 张春晖 | 吕振刚
当前申请(专利权)人: 首都医科大学附属北京潞河医院
IPC分类号: A61B17/80
法律状态/事件: 授权
技术功效: [0014]本实用新型中的第二跖楔关节固定背板的角度贴合第二跖骨和内侧楔骨的角度,第三跖楔关节固定背板的角度贴合第三跖骨和内侧楔骨的角度,175度的角度与180度的角度分别适用第二跖楔关节、第三跖楔关节的固定,使螺钉避免进入关节,有效缩减手术操作时间;穿孔辅助器对穿孔操作进行辅助,保证穿孔角度准确,增加穿孔过程的稳固性,提高手术操作效率,减少对周围软组织的损伤。
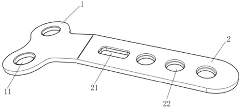
摘要: 本实用新型涉及医疗设备技术领域,涉及一种跖楔关节固定背板及穿孔辅助器,跖楔关节固定背板包括第二跖楔关节固定背板和第三跖楔关节固定背板,第二跖楔关节固定背板和第三跖楔关节固定背板均设有近端和远端,近端设有近端锁定孔,远端设有滑动孔和远端锁定孔;穿孔辅助工器包括第二跖楔关节穿孔辅助器和第三跖楔关节穿孔辅助器,均设有辅助器近端、辅助器远端和定位环。本实用新型的角度符合人体工程学,分别适用第二跖楔关节第三跖楔关节的固定,使螺钉避免进入关节,有效缩减手术操作时间;穿孔辅助器对穿孔操作进行辅助,保证穿孔角度准确,增加穿孔过程的稳固性,提高手术操作效率,减少对周围软组织的损伤。

























