授权专利
【实用新型】一种医用复位辅助装置
公开(公告)号: CN215307821U
摘要附图:

标题: 一种医用复位辅助装置
专利类型: 实用新型
申请日: 2021-03-09
公开(公告)日: 2021-12-28
发明人: 胡国东 | 张亚奎
当前申请(专利权)人: 首都医科大学附属北京潞河医院
IPC分类号: A61G13/00 | A61G13/10 | A61G13/12
法律状态/事件: 授权
技术功效: -
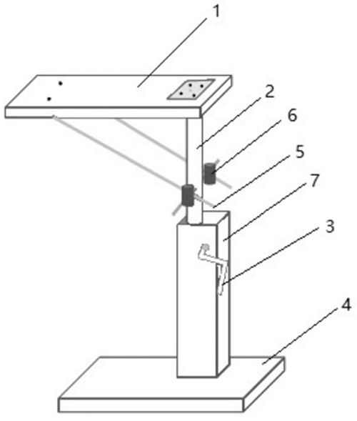
摘要: 本发明提供了一种医用复位辅助装置,属于医疗器械的技术领域,解决了现有方案中对于骨折复位只能依靠人力的问题。所述装置包括:固定平台、支撑杆和底座;其中,所述固定平台的一端固定连接所述支撑杆;所述支撑杆用于支撑所述固定平台;所述支撑杆远离所述固定平台的一端连接所述底座,所述支撑杆远离所述固定平台的一端连接所述底座,且所述支撑杆能够延所述底座的轴向方向移动以使所述固定平台靠近或远离所述底座。所述固定平台通过所述支撑杆固定在所述底座上,使得在进行骨折复位时,过所述固定平台完成复位辅助,避免了人力复位。

























