授权专利
【实用新型】一种医疗临床新型减压氧气面罩
公开(公告)号: CN216653073U
摘要附图:

标题: 一种医疗临床新型减压氧气面罩
专利类型: 实用新型
申请日: 2021-08-25
公开(公告)日: 2022-06-03
发明人: 郭晓云 | 金侠 | 田秋月 | 张美欣 | 柴雪鑫 | 张丽
当前申请(专利权)人: 首都医科大学附属北京潞河医院
IPC分类号: A61M16/06 | A61M11/00 | A61M31/00
法律状态/事件: 授权
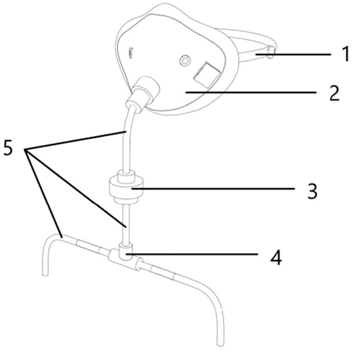
技术功效: [0013]本实用新型通过带有改良了传统的松紧带固定方式,改良面部贴合处材料,在保证气密性的同时避免出现压力性创伤,降低患者在佩戴面罩时的不适感,实现了同一面罩重用途,通过设置三向通孔下方的按压阀门进行调节达到雾化药液与吸氧的切换,可有效避免频繁摘取面罩对患者带来干扰,保证患者可安心静养,同时借助面罩侧面的活动性开口以避免呕吐时频繁摘取面罩,保证患者供氧同时更为便利,可使医护人员轻松喂患者进行治疗,避免因面罩污染造成额外的浪费,降低患者的心理压力与医治时的不适感。
摘要: 本实用新型提供了一种应用于临床新型减压氧气面罩,其特征在于,包括可调节固定带、可转动旋钮,氧气面罩,充气型气囊,活动性开口和三向通孔,所述可调节固定带固定于所述软性氧气面罩两端;所述可转动旋钮固定在所述可调节固定带上;所述充气型气囊位于所述氧气面罩边缘;所述活动性开口位于所述氧气面罩左侧;所述三向通孔下方设置有两个按压阀。本实用新型设有充气型气囊和可调节固定带以减少患者长时间佩戴氧气面罩时因挤压所产生的痛苦,以稳定患者情绪,有利于治疗稳定进行,活动性开口可使医护人员方便清理面罩内部,同时利用三向通孔可使氧气面罩分别接入氧气管道与雾化管道,减少医疗过程中操作步骤,降低学习成本,进一步减少患者医疗费用负担。

























