授权专利
【实用新型】一种新型分药车
公开(公告)号: CN215132239U
摘要附图:

标题: 一种新型分药车
专利类型: 实用新型
申请日: 2021-01-27
公开(公告)日: 2021-12-14
发明人: 郭汶晓 | 王献芳 | 张婵 | 李亚芳 | 刘莎 | 张钺迪 | 程玉彬 | 唐梦倩 | 梁朋彦 | 郭振红 | 孙晓萌 | 韩笑 | 李春怡 | 杨婧 | 孔曼
当前申请(专利权)人: 首都医科大学附属北京潞河医院
IPC分类号: A61G12/00
法律状态/事件: 授权
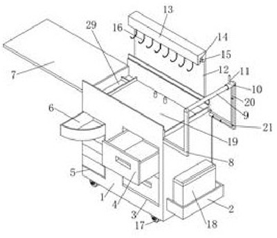
技术功效: [0028]本申请,通过在分药车本体的一侧转动安装L形盖板,L形盖板在折叠时能够附着在推车的第一储物槽上,使用便捷,且节省空间,在分药车本体的顶部固定连接挂条,在挂条内的底部设置第一滑槽,在第一滑槽内滑动安装挂钩,挂钩不仅能够在第一滑槽内随意调节、增加和减少,且还能够对挂钩进行进行限位,在分药车本体的底部两侧均设置有抽屉和旋转抽屉,有效的提高了储物能力,最后在旋转套上通过连接线与垃圾桶的上盖连接,能够快捷的将垃圾桶的上盖打开,避免医护人员在扔垃圾时弯腰,本申请避免了临床中部分分药车的功能较为单一,操作较为不便的问题,提高护理人员的工作效率,减少工作中不必要的流程和时间。
摘要: 本实用新型公开了一种新型分药车,包括分药车本体,分药车本体的一侧固定连接有支撑框和L形支撑杆,L形支撑杆上固定连接有推杆,分药车本体的靠近支撑框的一端两侧均开设有抽屉槽,两个抽屉槽内均滑动安装有抽屉,分药车本体远离支撑框的一端两侧均开设有转槽,两个转槽内均固定连接有固定轴,固定轴上通过旋转环转动安装有旋转抽屉,分药车本体的一侧上固定连接有竖板,L形盖板的一侧通过折叠合页转动安装在分药车本体的一侧上,挂条固定连接在竖板上,挂条的底部开设有第一滑槽;本申请,避免了临床中部分分药车的功能较为单一,操作较为不便的问题,提高护理人员的工作效率,减少工作中不必要的流程和时间。

























