授权专利
【实用新型】一种新型儿科呼吸道清理驱动装置
公开(公告)号: CN215230705U
摘要附图:

标题: 一种新型儿科呼吸道清理驱动装置
专利类型: 实用新型
申请日: 2021-02-02
公开(公告)日: 2021-12-21
发明人: 吴鸿波
当前申请(专利权)人: 首都医科大学附属北京潞河医院
IPC分类号: A61M1/00
法律状态/事件: 授权
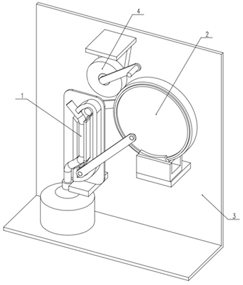
技术功效: [0008]采用上述结构本实用新型取得的有益效果如下:本方案一种新型儿科呼吸道清理驱动装置,通过挤压杆一和挤压杆二的循环挤压能够使软质导管中形成负压,从而将儿童呼吸道中的积痰或者积液吸入集液瓶中,通过挤压传动装置能够控制挤压杆一和挤压杆二的循环转动,手摇驱动装置能够通过手摇的方式驱动挤压传动装置,磁性中间挡板通过和磁性限位滑槽之间的排斥磁力平衡掉磁性中间挡板的自身重力,从而保持磁性中间挡板悬浮固定,由于挤压杆一和挤压杆二始终处于磁性中间挡板的两侧,配合磁性中间挡板和磁性限位滑槽之间的磁性的稳定作用,使磁性中间挡板保持在原有位置,不会发生大幅度的摆动,弹性挡片为软质弹性材质,通过自身形变为挤压杆一和挤压杆二的移动进行导向,通过圆形转盘在弧形轨道中滑动,从而模拟自传的效果。
摘要: 本实用新型公开了一种新型儿科呼吸道清理驱动装置,包括挤压装置、挤压传动装置、主体机架和手摇驱动装置,所述挤压装置设于主体机架上,所述挤压传动装置设于主体机架上,所述手摇驱动装置设于主体机架上。本实用新型属于儿科呼吸道清理技术领域,具体是指一种新型儿科呼吸道清理驱动装置;本实用新型通过挤压杆一和挤压杆二的循环挤压能够使软质导管中形成负压,从而将儿童呼吸道中的积痰或者积液吸入集液瓶中,通过挤压传动装置能够控制挤压杆一和挤压杆二的循环转动,手摇驱动装置能够通过手摇的方式驱动挤压传动装置,有效解决了目前市场上的儿科呼吸道清理的驱动装置结构复杂、造价高、生产周期长的问题。

























