授权专利
【实用新型】一种结膜囊冲洗器
公开(公告)号: CN215607587U
摘要附图:

标题: 一种结膜囊冲洗器
专利类型: 实用新型
申请日: 2021-08-16
公开(公告)日: 2022-01-25
发明人: 李丹丹
当前申请(专利权)人: 首都医科大学附属北京潞河医院
IPC分类号: A61H35/02 | A61F9/00
法律状态/事件: 授权
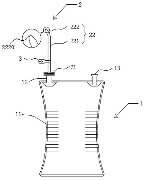
技术功效: [0016]相对于现有技术,本实用新型结膜囊冲洗器采用一次性冲洗管和本体连接,通过替换冲洗管可以再次利用主体内冲洗液,节约资源且卫生方便;用于盛装冲洗液的本体部采用软性材质制作便于挤压出液,且其中间变窄便于握持,且侧面设有防滑纹和刻度,使用方便;冲洗管与本体具有多种连接方式可选,且每种连接方式都操作简便,密封性好,卫生方便,应用性广;连接部位于本体部顶面的一侧,使用时只需将主体倒置后倾斜挤压即可,无需将其倒置后垂直挤压,使用更加方便,满足使用习惯,提高用户体验;出液头弯曲设置,且设有至少两个出液孔,其中,所述出液孔为内小外大的圆锥孔,可以实现水流速度适中同时不给患者带来明显的水压冲击。
摘要: 本实用新型公开了一种结膜囊冲洗器,包括主体和与所述主体可拆卸连接的冲洗管,其中,所述主体包括用于盛装冲洗液的本体部和位于所述本体部上方的连接部,所述本体部为软质材料制成,且其中间收缩变窄便于握持;所述冲洗管包括与所述连接部配合固定的固定部和自所述固定部延伸的导液部,所述导液部包括自所述固定部向上延伸的延长部和自所述延长部弯折延伸的出液头,所述出液头设有至少两个出液孔。采用本实用新型所述结膜囊冲洗器,通过替换一次性冲洗管实现冲洗液充分利用,节约资源且拆装简单卫生可靠。

























