授权专利
【实用新型】一种降温袋
公开(公告)号: CN215349926U
摘要附图:

标题: 一种降温袋
专利类型: 实用新型
申请日: 2021-07-14
公开(公告)日: 2021-12-31
发明人: 董晖
当前申请(专利权)人: 首都医科大学附属北京潞河医院
IPC分类号: A61F7/10
法律状态/事件: 授权
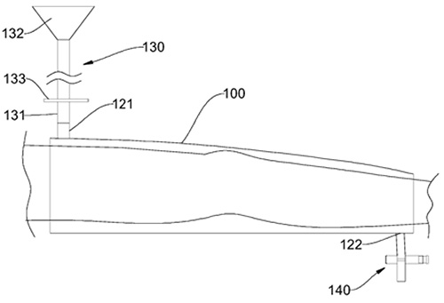
技术功效: [0025]本实用新型的实施例包括用于包裹人体四肢的袋主体,采用包裹式的使用方式,即使在降温过程中,患者四肢发生活动也不会影响到降温效果。袋主体包括彼此连接的贴合部和容量袋,贴合部与患者的袋降温的四肢紧密贴合,增大接触面积;容量袋用于储存降温液体,如水或者冰水混合物等,通过热量传递的物理降温方式,对患者实现降温;贴合部设置有固定板,固定板为一个平板状物体,可以方便患者穿戴好袋主体后,实现平稳搁置,不会发生袋主体的滑落现象;容量袋设置有进水口和出水口,医护人员通过进水口注入用于降温的冷水或者冰水混合物储存在容量袋内,对患者实现降温,当完成降温或者容量袋内的降温液体降温效果较差时(趋于患者体温),可将容量袋内的降温液体从出水口排出,随后可取下降温袋或者重新添加降温液体,使用方便简单。综上,本实用新型的实施例提供的降温袋具有使用方便、接触面积大以及降温效果好的有益效果。
摘要: 本实用新型提出了一种降温袋,涉及医疗用品技术领域。本实用新型通过采用包括用于包裹人体四肢的袋主体,袋主体包括彼此连接的贴合部和容量袋,贴合部设置有固定板,容量袋设置有进水口和出水口的技术方案,具有使用方便,降温效果好的有益效果。

























