授权专利
【实用新型】具有肢体固定功能的急诊护理床
公开(公告)号: CN215193096U
摘要附图:

标题: 具有肢体固定功能的急诊护理床
专利类型: 实用新型
申请日: 2021-06-21
公开(公告)日: 2021-12-17
发明人: 牛荣环
当前申请(专利权)人: 首都医科大学附属北京潞河医院
IPC分类号: A61G7/00 | A61G7/05 | A61G7/075 | A61B90/14 | A61G1/02 | A61G1/04
法律状态/事件: 授权
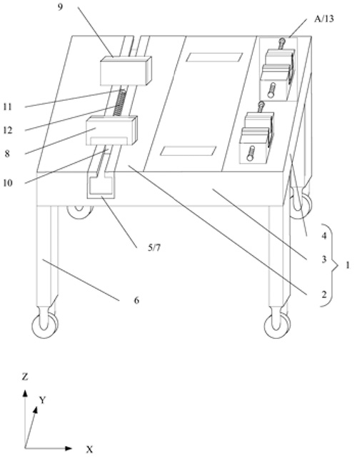
技术功效: [0021]1、本实用新型提供的具有肢体固定功能的急诊护理床中第一凸起和第二凸起之间设有弹簧,弹簧一端连接第一凸起,另一端连接第二凸起,对头部进行固定时,弹簧能够调节第一固定板和第二固定板之间的距离来匹配不同患者的头部宽度,适用范围更广。 [0022]2、本实用新型提供的具有肢体固定功能的急诊护理床的第一凸起与第二凸起均与导轨滑动连接,提供多个固定头部的位置。 [0023]3、本实用新型提供的具有肢体固定功能的急诊护理床设有固定架,第一螺杆与第一通孔螺纹连接,第一螺杆的一端连接第三固定板,第二螺杆与第二通孔螺纹连接,第二螺杆的一端连接第四固定板,通过转动第一螺杆和第二螺杆调节第三固定板和第四固定板之间的距离来完成患者腿部的固定,操作简单,使用方便,适用于各种体型的患者。 [0024]当然,实施本实用新型的任一产品必不特定需要同时达到以上所述的所有技术效果。 [0025]通过以下参照附图对本实用新型的示例性实施例的详细描述,本实用新型的其它特征及其优点将会变得清楚。
摘要: 本实用新型公开了一种具有肢体固定功能的急诊护理床,包括:床板、床腿、导轨、第一固定板、第二固定板和固定架。第一固定板和第二固定板靠近地面一端分别设有与导轨滑动连接的第一凸起和第二凸起,弹簧一端连接第一凸起,另一端连接第二凸起;固定架包括框体、第三固定板、第四固定板、第一螺杆和第二螺杆,框体包括槽体、第一通孔和第二通孔,第一螺杆与第一通孔螺纹连接,一端连接第三固定板,第二螺杆与第二通孔螺纹连接,一端连接第四固定板。通过弹簧调节第一固定板和第二固定板之间的距离来匹配不同患者的头部宽度、通过转动第一螺杆和第二螺杆调节第三固定板和第四固定板之间的距离来完成患者腿部的固定,适用于各种体型的患者。

























