授权专利
【实用新型】具有报警功能的穿戴式点滴架
公开(公告)号: CN216824335U
摘要附图:

标题: 具有报警功能的穿戴式点滴架
专利类型: 实用新型
申请日: 2021-04-28
公开(公告)日: 2022-06-28
发明人: 韩洁
当前申请(专利权)人: 首都医科大学附属北京潞河医院
IPC分类号: A61M5/14 | A61M5/168
法律状态/事件: 授权
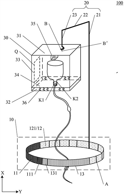
技术功效: [0028]1、本实用新型提供的具有报警功能的穿戴式点滴架,利用腰部固定带和支撑杆将举起点滴,腰部不仅可以和腰部固定带很好的卡合,同时完全可以承受点滴的重量,避免造成患者的不适。 [0029]2、本实用新型提供的具有报警功能的穿戴式点滴架,提供的腰部固定带中设有多个沿所述腰部固定带延伸的方向排布沿第一方向延伸的辅助支撑结构,多个辅助支撑结构可以起到支撑腰部固定带的作用,进而可以稳固与腰部固定带固定连接的支撑杆,保证挂在支撑杆上药品的稳定性。 [0030]3、本实用新型提供的具有报警功能的穿戴式点滴架,在箱体内设置弹性部件和限位板,当点滴药品设置插入准直孔,即放置在限位板时,会对限位板施加一个重力,进而作用于弹性部件,此时弹性部件属于受力压缩状态,点滴药品与报警装置的按钮之间具有间距,当药品逐渐输入患者体内,重力逐渐减少,进而对弹性部件施加的力逐渐减少,弹性部件逐渐回弹,直至点滴药品几乎用尽,弹性部件恢复至初始状态,同时将限位板上远离下表面的一侧推动,使得限位板上的点滴药品接触报警装置的按钮,触发报警装置,鸣笛示意药品即将用尽,病患及时提醒医务人员,由医务人员更换药瓶,防止出现换瓶或取下针头不及时甚至会发生医疗事故。 [0031]4、本实用新型提供的具有报警功能的穿戴式点滴架,提供的报警装置结构简单,适用范围广。
摘要: 本申请公开了一种具有报警功能的穿戴式点滴架,包括腰部固定带,第二区包括夹层,夹层包括辅助支撑结构,第一支撑杆位于任意相邻两个辅助支撑结构之间与第二区固定连接,箱体上表面包括限位环,限位环位于第三支撑杆的挂钩内,箱体的内部还包括限位板和报警装置,限位板和下表面之间包括多个弹性部件,箱体下表面包括第一镂空部,限位板包括第二镂空部,第一镂空部和第二镂空部形成一个准直孔与弹性部件无交叠;报警装置位于上表面,包括向下表面凸出的按钮,且按钮在下表面与准直孔在下表面所在平面的正投影至少部分交叠。本申请提供的具有报警功能的穿戴式点滴架可以解决患者无法独立外出如厕或者办事的问题,同时保证患者的舒适性。

























