授权专利
【实用新型】便于转运的临床用床垫
公开(公告)号: CN215193164U
摘要附图:

标题: 便于转运的临床用床垫
专利类型: 实用新型
申请日: 2021-06-30
公开(公告)日: 2021-12-17
发明人: 王子佯
当前申请(专利权)人: 首都医科大学附属北京潞河医院
IPC分类号: A61G7/05 | A61G7/10
法律状态/事件: 授权
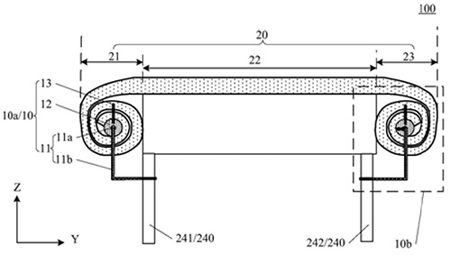
技术功效: [0020]本实用新型提供的便于转运的临床用床垫,包括转动组件和柔性床垫,至少部分柔性床垫围绕在转动组件上,沿第二方向上,转动组件包括相对设置的第一转动组件和第二转动组件,床腿包括相对设置的第一床腿和第二床腿,第一转动组件与第一床腿可拆卸连接,第二转动组件与第二床腿可拆卸连接。进而当患者需要转移时,在该床体一侧设置另一个预置床体,将第二转动组件与第二床腿拆分,转动第二转动组件上的L型把手,将第二转动组件上围绕的柔性床垫伸出平铺在预置床体上,并将其与预置床体远离床体一侧的床腿连接,此时转动第二转动组件上的L型把手,柔性衬垫随着第二转动组件的转动围绕在第二转动组件上,同时拉动第一转动组件上围绕的部分柔性床垫伸出,此时患者根据柔性床垫的传动可以平移至预置床体上,该过程中无需多人同时工作,也不需搬动患者,有效解决搬动病人时不小心给病人造成的二次伤害的问题。
摘要: 本申请公开了一种便于转运的临床用床垫,包括转动组件和柔性床垫,部分柔性床垫围绕在转动组件上,第一转动组件与第一床腿可拆卸连接,第二转动组件与第二床腿可拆卸连接;柔性床垫包括相连接的第一分部、第二分部和第三分部,第一分部与第一转动组件固定连接,第三分部远与第二转动组件固定连接,第二分部与床板至少部分交叠,转动组件还包括固定杆,转杆套接在固定杆上,转杆的一端包括L型把手,第一分部与第一转动组件的转杆固定连接,且至少部分第一分部围绕在第一转动组件的转杆上,第二分部与第二转动组件的转杆固定连接,且至少部分第二分部围绕在第二转动组件的转杆上,可以有效解决搬动病人时给病人造成二次伤害的问题。

























