授权专利
【实用新型】便于垃圾投放的多功能临床医用推车
公开(公告)号: CN215206687U
摘要附图:

标题: 便于垃圾投放的多功能临床医用推车
专利类型: 实用新型
申请日: 2021-07-13
公开(公告)日: 2021-12-17
发明人: 王杏元
当前申请(专利权)人: 首都医科大学附属北京潞河医院
IPC分类号: B65F3/00
法律状态/事件: 授权
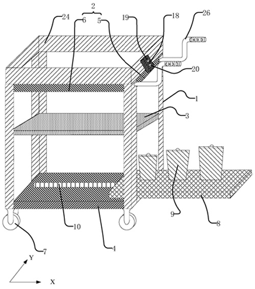
技术功效: [0015]本实用新型由于在位于底座靠近隔板的一侧设置的垃圾桶固定板,而且沿第一方向往复运动;底座靠近隔板的一侧包括沿第一方向延伸的第一凸起,垃圾桶固定板靠近底座的一侧设有移动支撑座,移动支撑座上设有与第一凸起相配合的第一卡槽,移动支撑座上还包括沿第一方向排布的平齿,底座靠近隔板的一侧还包括第二凹槽,第二凹槽内设有电机,电机的输出轴沿垂直于顶板所在平面的方向上延伸,输出轴上设有齿轮,齿轮与平齿啮合,电机控制器的第一按钮控制电机正转,电机控制器的第二按钮控制电机反转,当按下第二按钮时,电机反转时齿轮逆时针转动,移动支撑座带动垃圾桶固定板向靠近医护工作者的一侧移动,便于向垃圾桶内投放垃圾,使用方便,当投放完毕后,按下第一按钮,电机正转齿轮顺时针转动,移动支撑座带到垃圾桶固定板沿第第一方向上移动回底座上方,实现收纳,本实用新型方便向垃圾桶内投放医疗垃圾,使用方便; [0016]本实用新型的垃圾桶固定板远离底座的一侧包括依次套接的第一圆形凹槽、第二圆形凹槽和第三圆形凹槽,第一圆形凹槽的直径、第二圆形凹槽的直径、和第三圆形凹槽的直径逐渐减小,这样能够适应不同尺寸的垃圾桶,在垂直于顶板所在平面的方向上第一圆形凹槽的深度、第二圆形凹槽的深度和第三圆形凹槽的深度逐渐增加,这样在垃圾桶固定板的移动过程中垃圾桶不会发生倾倒。 [0017]当然,实施本实用新型的任一产品必不特定需要同时达到以上所述的所有技术效果。 [0018]通过以下参照附图对本实用新型的示例性实施例的详细描述,本实用新型的其它特征及其优点将会变得清楚。
摘要: 本申请公开了一种便于垃圾投放的多功能临床医用推车,通过在底座靠近隔板的一侧设置垃圾桶固定板沿第一方向往复运动;底座靠近隔板的一侧包括沿第一方向延伸的第一凸起,垃圾桶固定板靠近底座的一侧设有移动支撑座,移动支撑座上设有与第一凸起相配合的第一卡槽,还包括沿第一方向排布的平齿,底座靠近隔板的一侧包括第二凹槽,第二凹槽内设有电机,电机的输出轴上设有齿轮,齿轮与平齿啮合,电机控制器的第一按钮控制电机正转,电机控制器的第二按钮控制电机反转,当按下第二按钮时,电机反转时齿轮逆时针转动,按下第一按钮,电机正转齿轮顺时针转动,本实用新型方便向垃圾桶内投放医疗垃圾,使用方便。

























