授权专利
【实用新型】良肢位摆放枕
公开(公告)号: CN211131837U
摘要附图:

标题: 良肢位摆放枕
专利类型: 实用新型
申请日: 2019-11-15
公开(公告)日: 2020-07-31
发明人: 刘继红
当前申请(专利权)人: 首都医科大学附属北京潞河医院
IPC分类号: A61G7/075
法律状态/事件: 授权
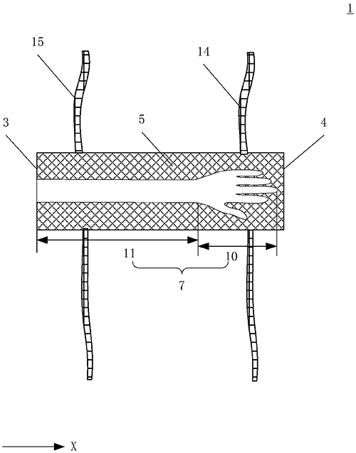
技术功效: [0014]本申请通过分别设置上肢摆放枕和下肢摆放枕,能够对上肢和下肢的良肢位进行合理摆放; [0015]本申请上肢摆放枕截面为梯形,上肢摆放枕包括沿第一方向相对设置的第一端和第二端,第一端的高度小于第二端的高度,上肢摆放枕包括沿第二方向相对设置的第一面和第二面,第一方向和第二方向交叉,第一面设有第一凹槽,第一凹槽从第一端向第二端延伸,第一凹槽与上肢相匹配,第二面设有第二凹槽,第二凹槽由第二端向第一端延伸,这样当处于仰卧位时,将上肢放在第一凹槽内,当处于健侧卧位时,将上肢放在第二凹槽内,达到一个上肢摆放枕适合两种良肢位的目的; [0016]本申请的下肢摆放枕设有第三凹槽,与下肢配合,适合仰卧位; [0017]本申请在上肢摆放枕靠近第一部的位置设有第一束缚带,靠近所述第三部的位置设有第二束缚带,可以对手部进行约束,以防止手部痉挛的发生; [0018]本申请中上肢摆放枕和下肢摆放枕的材料均为记忆海绵,记忆海绵手感柔软,能够缓慢回弹,患者不会感觉不适。 [0019]当然,实施本实用新型的任一产品必不特定需要同时达到以上所述的所有技术效果。 [0020]通过以下参照附图对本实用新型的示例性实施例的详细描述,本实用新型的其它特征及其优点将会变得清楚。
摘要: 本实用新型公开了一种良肢位摆放枕,包括上肢摆放枕和下肢摆放枕,其中,上肢摆放枕的截面为梯形,上肢摆放枕包括沿第一方向相对设置的第一端和第二端,第一端的高度小于第二端的高度,上肢摆放枕包括沿第二方向相对设置的第一面和第二面,第一方向和第二方向交叉,第一面设有第一凹槽,第一凹槽从第一端向第二端延伸,第一凹槽与上肢相匹配,第二面设有第二凹槽,第二凹槽由第二端向第一端延伸;下肢摆放枕的截面为三角形,下肢摆放枕上设有第三凹槽,第三凹槽与下肢相匹配。本申请通过分别设置上肢摆放枕和下肢摆放枕,能够对上肢和下肢的良肢位进行合理摆放。

























