授权专利
【实用新型】口腔护理牙刷
公开(公告)号: CN210672504U
摘要附图:

标题: 口腔护理牙刷
专利类型: 实用新型
申请日: 2019-10-11
公开(公告)日: 2020-06-05
发明人: 董慧敏
当前申请(专利权)人: 首都医科大学附属北京潞河医院
IPC分类号: A46B5/00 | A46B11/02 | A46B15/00
法律状态/事件: 授权
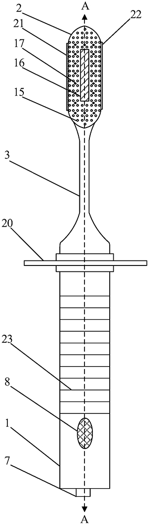
技术功效: [0019]与现有技术相比,本实用新型提供的口腔护理牙刷,有如下有益效果: [0020]第一,本实用新型中的遮挡部在牙刷手柄上可转动、可滑动,可根据不同患者的口腔长度,滑动遮挡部来调整遮挡部到牙刷头的距离,使牙刷头在刷到最里侧大牙时遮挡部正好卡合在患者嘴部,适合可以自己刷牙但是无法很好控制自己手部力量的患者,防止患者在自己刷牙时因过渡用力使牙刷头捅到咽喉部,造成不适或伤害。 [0021]第二,本实用新型中的牙刷头两侧设有夜光条,并且遮挡部设计为放大镜,夜光条可在灯光不足的口腔中发光,配合具有放大功能的遮挡部,使护理人员在灯光不足的情况下,也可以看清楚患者口腔内的情况,能更好的给患者清洁口腔。 [0022]第三,本实用新型中的第二隔板、第三隔板、连接杆、以及牙刷头外侧壁的材质为热塑性弹性体,热塑性弹性体可以弯折,护理人员可根据患者实际的口腔情况,如临床气管插管患者,将连接杆和牙刷头弯折出需要的形状,对各种情况的患者的口腔都能做出很好的清洁。 [0023]第四,本实用新型中的牙刷头上还设有海绵,在给患者清理口腔过程中,如果口腔中仅有少量唾液或口腔护理液时,可以直接用海绵进行吸收,无需打开外部负压装置。 [0024]第五,本实用新型中设有按压气囊,通过按压按压气囊,可将第一口腔护理液通道内的口腔护理液压入到牙刷头内,再通过喷雾嘴将口腔护理液喷洒到口腔中,所述按压气囊结构简单,操作方便。
摘要: 本申请公开了一种口腔护理牙刷,包括牙刷手柄和牙刷头;牙刷手柄为中空结构,分为第一口腔护理液通道和第一口腔分泌物通道;第一口腔护理液通道内装有口腔护理液;牙刷手柄设有按压气囊;牙刷头为中空结构,分为第三口腔护理液通道和第三口腔分泌物通道;牙刷头设有刷毛、海绵及喷雾嘴;还包括遮挡部,遮挡部与牙刷手柄转动、滑动连接;还包括第一夜光条和第二夜光条,位于牙刷头两侧;连接杆和牙刷头外侧壁的材质为热塑性弹性体。本实用新型中的遮挡部可卡合在患者嘴部,起阻挡作用。夜光条可照亮患者口腔;热塑性弹性体可以弯折,可根据患者实际口腔情况将连接杆和牙刷头弯折出需要的形状,对各种情况的患者的口腔都能做出很好的清洁。

























