授权专利
【实用新型】一种综合护理用药片碾粉装置
专利号:ZL202021906366.2
申请日:20200903
发明人:吴永霞
法律状态:授权
公开号:CN213287053U
授权公告日:2021-05-28
交易方式:转让; 许可
【摘要】:
本实用新型属于综合护理用药片碾粉技术领域,尤其为一种综合护理用药片碾粉装置,包括工作台,所述工作台的顶部分别固定连接有第一弹簧和伸缩杆,所述伸缩杆的顶部固定连接有滤网支架,所述滤网支架的顶部固定连接有震动电机,所述震动电机的顶部设有细过滤网,所述工作台的顶部固定连接有碾压罐支架,所述碾压罐支架的顶部固定连接有碾压罐主体,所述碾压罐主体的顶部设有碾压石,所述碾压石的顶部固定连接有第一齿轮。本实用新型通过第二固定板的底部安装第二电动推杆,通过第二电动推杆的底部转轴转动连接第一齿轮,通过第一齿轮的一侧啮合第二齿轮,再通过电机主体的转动带动碾压石进行转动,从而使得药片在进行碾磨时更充分,效果更好。
【技术领域】:
本实用新型涉及综合护理用药片碾粉技术领域,具体为一种综合护理用药片碾粉装置。
【实用新型内容】:
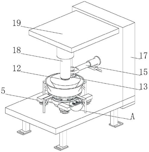
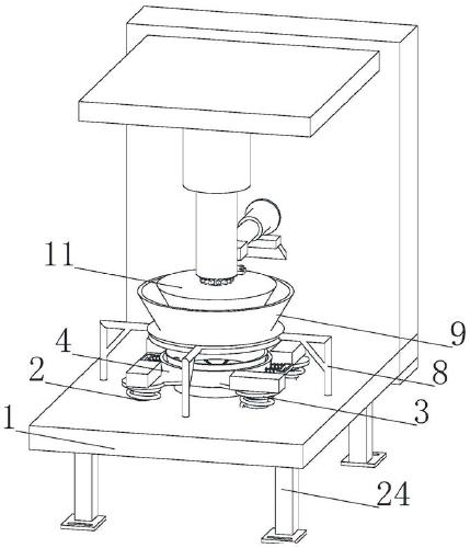
本实用新型提供如下技术方案:一种综合护理用药片碾粉装置,包括工作台,所述工作台的顶部分别固定连接有第一弹簧和伸缩杆,所述伸缩杆的顶部固定连接有滤网支架,所述滤网支架的顶部固定连接有震动电机,所述震动电机的顶部设有细过滤网,所述工作台的顶部固定连接有碾压罐支架,所述碾压罐支架的顶部固定连接有碾压罐主体,所述碾压罐主体的顶部设有碾压石,所述碾压石的顶部固定连接有第一齿轮,所述第一齿轮的一侧啮合有第二齿轮,所述第二齿轮的顶部固定连接在电机主体的输出端,所述工作台的顶部固定连接有第一固定板,所述第一齿轮的顶部通过转轴转动连接有第二电动推杆,所述工作台的底部设有出料口,所述工作台的底部固定连接有固定柱。
作为本实用新型的一种优选技术方案,所述滤网支架的底部开设有第一过滤孔,所述碾压罐主体的底部开设有第二过滤孔。
作为本实用新型的一种优选技术方案,所述电机主体的一侧固定连接有第一电动推杆,所述第一电动推杆的另一端固定连接在第一固定板的一侧。
作为本实用新型的一种优选技术方案,所述第一固定板的一侧固定连接有推杆支架,所述推杆支架的顶部与第一电动推杆的底部固定连接。
作为本实用新型的一种优选技术方案,所述第二电动推杆的顶部固定连接有第二固定板,所述第二固定板的一侧固定连接在第一固定板的一侧。
作为本实用新型的一种优选技术方案,所述滤网支架的内部穿插有限位杆,所述限位杆的另一端穿插至细过滤网的内部,所述滤网支架的外壁固定连接有第二弹簧,所述第二弹簧的内壁与限位杆的外壁滑动连接,所述限位杆的另一端固定连接有拉手。
与现有技术相比,本实用新型提供了一种综合护理用药片碾粉装置,具备以下有益效果:
1、该综合护理用药片碾粉装置,通过第二固定板的底部安装第二电动推杆,通过第二电动推杆的底部转轴转动连接第一齿轮,通过第一齿轮的一侧啮合第二齿轮,再通过电机主体的转动带动碾压石进行转动,从而使得药片在进行碾磨时更充分,效果更好。
2、该综合护理用药片碾粉装置,通过碾压罐主体的底部设有细过滤网,并在细过滤网的外侧安装有滤网支架、震动电机、第一弹簧和伸缩杆,从而使得能够对没有碾磨好的药品进行单独筛选。
【附图】:





























