授权专利
【实用新型】一种自动供给消毒棉签
专利号:ZL202120536231.X
申请日:20210315
发明人:陈旭
法律状态:授权
公开号:CN214650623U
授权公告日:2021-11-09
交易方式:转让; 许可
【摘要】:
本实用新型公开了一种自动供给消毒棉签,涉及到消毒棉签领域,包括棉签储藏盒和驱动盒,棉签储藏盒和驱动盒均为柱状槽体结构;棉签储藏盒和驱动盒之间通过连接腔相互连通;本实用新型将棉签插设在橡胶板上的插接槽内,且将橡胶卷绕链卷绕在从动柱上,进而可以通过将橡胶卷绕链解开缠绕,进而将橡胶卷绕链上的棉签有序的抽出,使得棉签与出签口的位置相对应,进而便于将棉签从出签口中抽出,且由于位于连接腔底部的重力柱可以将棉签向上顶起,更加便于棉签的抽取,且在取出棉签时不需要将密封盖打开,且不需要倾斜棉签储藏盒即可实现,使用更加方便,且避免将密封盖打开可降低棉签上吸附的消毒液的挥发,同时更加的卫生。
【技术领域】:
本实用新型涉及消毒棉签领域,特别涉及一种自动供给消毒棉签。
【实用新型内容】:
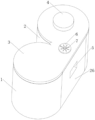
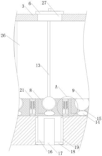
一种自动供给消毒棉签,包括棉签储藏盒和驱动盒,所述棉签储藏盒和驱动盒均为柱状槽体结构;所述棉签储藏盒和驱动盒之间通过连接腔相互连通;所述棉签储藏盒和驱动盒的顶部设有密封盖;所述棉签储藏盒的中心轴线的位置处活动设有从动柱, 从动柱的底端活动连接在棉签储藏盒的底部;所述从动柱上通过涡卷弹簧缠绕有橡胶卷绕链;所述橡胶卷绕链的另一端伸入驱动盒的内部并与驱动柱的边缘固连;所述驱动柱位于驱动盒内部的中心轴线处;所述驱动柱的底端与驱动盒的底部活动连接;所述驱动柱的顶端伸出密封盖与转动盘可拆卸连接;所述橡胶卷绕链包括橡胶板和连接板;两组所述橡胶板之间通过连接板连接;所述连接板与橡胶板相邻的面上均开设有竖向滑轨;所述竖向滑轨与橡胶板外壁固定设有的导向杆相互滑动连接;所述导向杆的顶部通过弹簧与竖向滑轨的顶部内壁固连;所述橡胶板的顶部开设有插接槽,所述插接槽的内部插设有棉签;所述密封盖上位于连接腔的上方开设有出签口;所述密封盖的上表面位于出签口的上方通过销轴活动设有密封盘;所述密封盘可绕销轴在水平面内转动;所述连接腔的底部位于出签口的正下方开设有柱状通孔;所述柱状通孔的内部活动设有重力柱;所述重力柱的底部边缘固定设有的限位柱与柱状通孔内壁的限位滑轨相互滑动连接;
工作时,蘸有消毒酒精的棉签的底端插设在橡胶板上的插接槽内进行储存,而插接槽和连接板形成的橡胶卷绕链卷绕在从动柱上,从而将插接槽内部的棉签进行收纳,当需要将棉签拔出时,此时可转动驱动盒顶部的转动盘进而将驱动盒内部的驱动柱转动,驱动柱转动的过程中将会卷绕橡胶卷绕链,进而带动橡胶板和连接板移动,进而带动插接槽内部的棉签移动,当棉签移动至与出签口相对应的位置时,此时,可先将出签口顶部的密封盘旋转打开,然后将重力柱向上推动,使得重力柱的顶部将相应位置处的橡胶板向上推动,当插接槽内部的棉签顶端伸出出签口时,此时可以将棉签拔出;
本实用新型将棉签插设在橡胶板上的插接槽内,且将橡胶卷绕链卷绕在从动柱上,进而可以通过将橡胶卷绕链解开缠绕,进而将橡胶卷绕链上的棉签有序的抽出,使得棉签与出签口的位置相对应,进而便于将棉签从出签口中抽出,且由于位于连接腔底部的重力柱可以将棉签向上顶起,使得棉签的顶端伸出出签口,更加便于棉签的抽取,这跟传统的直接将棉签放置在棉签盒内用密封盖盖合相比,在取出棉签时不需要将密封盖打开,且不需要倾斜棉签储藏盒即可实现,使用更加方便,且避免将密封盖打开可降低棉签上吸附的消毒液的挥发,同时更加的卫生。
优选的,所述橡胶板的内部位于插接槽的下方开设有储液室;所述储液室与插接槽之间通过出液口相互连通;所述橡胶板的内部设有与储液室内部相互连通的注射通道;所述注射通道的顶端位于橡胶板的顶部,且注射通道的内部设有单向阀;在实际操作时,可先通过注射器向注射通道的内部注入消毒液,消毒液经过注射通道进入储液室的内部,而此时棉签为干燥状态,当通过转动转动盘使得棉签移动至与出签口相对应的位置时,此时可以先不打开密封盘,直接将重力柱上推,当棉签被推动至与密封盘接触的位置时,此时继续推动重力柱将会挤压橡胶板的底部,此时橡胶板底部的储液室内部的消毒液将会通过出液口进入插接槽的内部并被棉签的底端吸收,这种方式使得可以将消毒液储存在储液室的内部,大大降低了消毒液与空气接触的机会,使得消毒液储存的时间更长,同时更加的卫生,且防止棉签的底端长时间泡在消毒液里造成棉签底端变形。
优选的,所述连接腔的后侧开设有可视窗;所述可视窗与出签口的位置相对应;工作时,可视窗可以直观观察连接腔内部的棉签移动至哪个位置,进而便于进行后续的将棉签顶出操作。
优选的,所述连接腔的内部与可视窗相对应的位置处通过节杆固定设有导向板;所述导向板的表面与橡胶板的表面相互平行;所述导向板的边缘经过光滑处理;工作时,导向板可以起到对橡胶板进行导向的作用,使得棉签刚好经过出签口的正下方。
优选的,所述密封盘的顶部设有防滑凸起,防滑凸起在密封盘的顶部绕密封盘的中心轴线呈等距环形排列;工作时,密封盘顶部的防滑凸起可以加大密封盘顶部的摩擦力,便于将密封盘旋转打开。
优选的,所述出签口的直径大于棉签底部棉球的直径;所述密封盘的直径大于出签口的直径;工作时,出签口的直径大于棉签底部棉球的直径,进而便于将棉签从出签口中抽出。
本实用新型的技术效果和优点:
1、本实用新型将棉签插设在橡胶板上的插接槽内,且将橡胶卷绕链卷绕在从动柱上,进而可以通过将橡胶卷绕链解开缠绕,进而将橡胶卷绕链上的棉签有序的抽出,使得棉签与出签口的位置相对应,进而便于将棉签从出签口中抽出,且由于位于连接腔底部的重力柱可以将棉签向上顶起,使得棉签的顶端伸出出签口,更加便于棉签的抽取,这跟传统的直接将棉签放置在棉签盒内用密封盖盖合相比,在取出棉签时不需要将密封盖打开,且不需要倾斜棉签储藏盒即可实现,使用更加方便,且避免将密封盖打开可降低棉签上吸附的消毒液的挥发,同时更加的卫生;
2、本实用新型在插接槽的底部设有储液室,这种方式使得可以将消毒液储存在储液室的内部,大大降低了消毒液与空气接触的机会,使得消毒液储存的时间更长,同时更加的卫生,且防止棉签的底端长时间泡在消毒液里造成棉签底端变形;
3、本实用新型中的可视窗可以直观观察连接腔内部的棉签移动至哪个位置,进而便于进行后续的将棉签顶出操作。
【附图】:





























