授权专利
【实用新型】一种用于失禁性皮炎的护理装置
专利号:ZL202021445304.6
申请日:20200721
发明人:马晓恒; 谢威; 李敏; 包素铭; 杨雪
法律状态:授权
公开号:CN213526915U
授权公告日:2021-06-25
交易方式:转让; 许可
【摘要】:
本实用新型提供了一种用于失禁性皮炎的护理装置,包括外壳、恒温出风口、蓄电池和出风口启动开关,所述恒温出风口开设于外壳的一侧面,且与外壳内部的恒温出风系统连接,所述蓄电池设置在外壳上,所述出风口启动开关设置在外壳上恒温出风口所在的侧面上,且出风口启动开关分别与蓄电池和外壳内部的恒温出风系统电性连接,用于接通蓄电池与外壳内部的恒温出风系统之间的电路,即控制外壳内部的恒温出风系统工作,本实用新型具备恒温吹风及及时给药的方案,使用方便,可减轻家属及护理人员的工作量,缩短失禁性皮炎皮肤潮湿的时间,大大的提高患者的舒适度。
【技术领域】:
本实用新型涉及医疗护理设备领域,尤其涉及一种用于失禁性皮炎的护理装置。
【实用新型内容】:
本实用新型提供了一种用于失禁性皮炎的护理装置,包括外壳、恒温出风口、蓄电池和出风口启动开关,所述恒温出风口开设于外壳的一侧面,且与外壳内部的恒温出风系统连接,所述蓄电池设置在外壳上,所述出风口启动开关设置在外壳上恒温出风口所在的侧面上,且出风口启动开关分别与蓄电池和外壳内部的恒温出风系统电性连接,用于接通蓄电池与外壳内部的恒温出风系统之间的电路,即控制外壳内部的恒温出风系统工作。
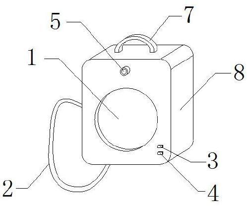
优选的,还包括提手,所述提手设置在外壳顶部。
优选的,还包括螺纹连接口、伸缩杆和底架,所述螺纹连接口设置在外壳底部,所述伸缩杆的伸缩部与螺纹连接口螺纹连接,所述伸缩杆的套管部设置在底架上。
更为优选的,还包括若干滑轮,所述若干滑轮呈环形等距转动连接在底架底部。
优选的,还包括药箱、雾化喷头和药物启动开关,所述药箱设置在外壳上,且药箱内部设置有泵体,药箱顶部设置有药物进出口,所述雾化喷头通过连通管与药物进出口可拆卸式连接,所述药物启动开关分别与药箱内部的泵体和蓄电池电性连接,用于接通蓄电池与药箱内部的泵体之间的电路,控制泵体的运行。
更为优选的,还包括液位观察表,所述液位观察表设置在药箱的外侧面,且药箱上液位观察表对应的侧面为透明玻璃。
更为优选的,还包括报警灯和液位传感器,所述报警灯设置在外壳上恒温出风口所在的一侧面,报警灯与蓄电池电性连接,所述液位传感器位于药箱内顶部,且液位传感器分别与蓄电池和报警灯电性连接。
更为优选的,还包括软管悬挂处,所述软管悬挂处设置在外壳上药箱所在侧面,用于悬挂连通管。
从上面所述可以看出,本实用新型的有益效果:本实用新型具备恒温吹风及及时给药的方案,使用方便,可减轻家属及护理人员的工作量,缩短失禁性皮炎皮肤潮湿的时间,大大的提高患者的舒适度。
【附图】:




























