授权专利
【实用新型】一种用于患者膀胱冲洗、灌注化疗的连接管
专利号:ZL202022165125.3
申请日:20200928
发明人:崔晓敏; 陈建英
法律状态:授权
公开号:CN213554311U
授权公告日:2021-06-29
交易方式:转让; 许可
【摘要】:
本实用新型涉及一种用于患者膀胱冲洗、灌注化疗的连接管,包括第一连接组件(1)、第二连接组件(2)和接头组件(4),第一连接组件(1)通过第二连接组件(2)与接头组件(4)连接,还包括凸起组件(3),凸起组件(3)设置于第二连接组件(2)一端,接头组件(4)一端与凸起组件(3)连接。本实用新型结构简单,操作便捷,与导尿管端可快速连接,连接更加紧密,在与注射器或输液器连接时,能够杜绝药液外溢,不但保证了膀胱冲洗与灌注的迅速性、准确性,而且保证了膀胱灌注和膀胱冲洗的效率,利于医务人员职业防护。
【技术领域】:
本实用新型涉及医疗器械技术领域,尤其涉及一种用于患者膀胱冲洗、灌注化疗的连接管。
【实用新型内容】:
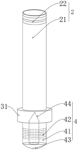
本实用新型实施例公开了一种用于患者膀胱冲洗、灌注化疗的连接管,包括第一连接组件、第二连接组件和接头组件,所述第一连接组件通过所述第二连接组件与所述接头组件连接,还包括凸起组件,所述凸起组件设置于所述第二连接组件一端,所述接头组件一端与所述凸起组件连接。
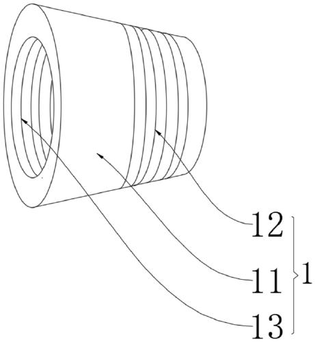
在上述任一方案中优选的是,所述第一连接组件包括连接头和第一内螺纹,所述第一内螺纹设置于所述连接头内表面。
在上述任一方案中优选的是,所述第一连接组件还包括第一防滑部,所述第一防滑部设置于所述连接头外表面。
在上述任一方案中优选的是,所述连接头一端为圆锥形,另一端与所述第二连接组件连接。
在上述任一方案中优选的是,所述第二连接组件包括连接管和外螺纹,所述外螺纹设置于所述连接管一端,所述连接管通过一端的所述外螺纹与所述连接头内部的所述第一内螺纹螺纹连接。
在上述任一方案中优选的是,所述凸起组件包括凸起本体和第二内螺纹,所述凸起本体设置于所述连接管一端,所述第二内螺纹设置于所述凸起本体内。
在上述任一方案中优选的是,所述接头组件包括外壳体、开口和闭合端,所述外壳体一端具有外螺纹,所述外壳体通过一端的外螺纹与所述凸起本体内的所述第二内螺纹螺纹连接,
所述外壳体用以与无针注射器或输液器接头连接,所述外壳体内为液体进出的通道,该通道设置一端为所述开口,另一端为所述闭合端,以实现控制液体通道开启。
在上述任一方案中优选的是,所述接头组件还包括第二防滑部,所述第二防滑部设置于所述外壳体外表面。
在上述任一方案中优选的是,所述开口为一字型,所述闭合端为鸭嘴型。
在上述任一方案中优选的是,所述连接管为圆柱形。
在上述任一方案中优选的是,所述第一防滑部和所述第二防滑部均为螺旋状纹。
在上述任一方案中优选的是,所述第一防滑部和所述第二防滑部分别与所述连接头和所述外壳体一体成型。
在上述任一方案中优选的是,所述连接管与所述凸起本体一体成型或可拆卸连接。
在上述任一方案中优选的是,所述连接头、所述第一防滑部和所述第一内螺纹一体成型。
在上述任一方案中优选的是,所述连接头、所述连接管、所述凸起本体和所述外壳体均由硅胶制成。
在上述任一方案中优选的是,所述接头组件为一单向阀。
与现有技术相比,本实用新型实施例用于患者膀胱冲洗、灌注化疗的连接管,连接头一端为圆锥形,另一端与圆柱形连接管连接,外壳体上有螺旋状纹,用以与无针注射器或输液器接头连接,外壳体内为液体进出的通道,此通道设置一端为一字型,另一端为鸭嘴型,以此来控制液体通道开启,将连接头设置为变径圆锥形接头,且其上有螺旋状条纹,易于与尿管连接,不易脱落,不易漏液,所述外壳体一端为一字型的开口,另一端为鸭嘴型的闭合端,可与无针注射器紧密连接,防止漏液。
本实用新型的优点是,结构简单,操作便捷,与导尿管端可快速连接,连接更加紧密,在与注射器或输液器连接时,能够杜绝药液外溢,不但保证了膀胱冲洗与灌注的迅速性、准确性,而且保证了膀胱灌注和膀胱冲洗的效率,利于医务人员职业防护。
【附图】:





























