授权专利
【实用新型】一种超声引导下腕及指腱鞘炎治疗固定装置
专利号:ZL202022120147.8
申请日:20200924
发明人:姚鹏飞; 韩洋
法律状态:授权
公开号:CN213883418U
授权公告日:2021-08-06
交易方式:转让; 许可
【摘要】:
本实用新型公开了一种超声引导下腕及指腱鞘炎治疗固定装置,包括底座、配重块、壳体、升降机构和支撑机构,所述配重块设置在底座的顶端中心位置,所述壳体安装在配重块的顶端中心位置,所述升降机构装配在壳体的内腔,所述支撑机构装配在升降机构的顶端。该超声引导下腕及指腱鞘炎治疗固定装置,通过升降机构可以调节支撑机构的位置高度,该装置可在对患者进行治疗时,将其体位固定,避免由于患者的体位不配合而导致穿刺部位不准确或无法将药物精确注射到病变部位,大大提高穿刺针操作的成功率,同时,其操作简单便捷,可根据使用需求灵活地调节其固定高度及角度,满足不同患者的使用需求,使用灵活,实用性强。
【技术领域】:
本实用新型涉及医疗辅助器械技术领域,具体为一种超声引导下腕及指腱鞘炎治疗固定装置。
【实用新型内容】:
本实用新型提供如下技术方案:一种超声引导下腕及指腱鞘炎治疗固定装置,包括
底座;
配重块,设置在所述底座的顶端中心位置;
壳体,安装在所述配重块的顶端中心位置;
升降机构,装配在所述壳体的内腔;
支撑机构,装配在所述升降机构的顶端。
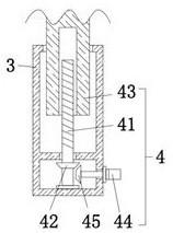
优选的,所述升降机构包括螺杆,所述螺杆的底端通过轴承安装在壳体的内腔底端中心位置,所述螺杆的外壁底端过盈配合有第一齿轮,所述螺杆的外壁顶端螺纹连接有支撑杆的一端,且支撑杆的另一端延伸出壳体的上表面,所述壳体的前侧底端通过轴承安装有转杆的一端,所述转杆的另一端延伸进壳体的内腔且安装有与第一齿轮相互啮合连接的第二齿轮。
优选的,所述第一齿轮与第二齿轮之间相匹配且位置相对应。
优选的,所述支撑杆的形状呈矩形设置。
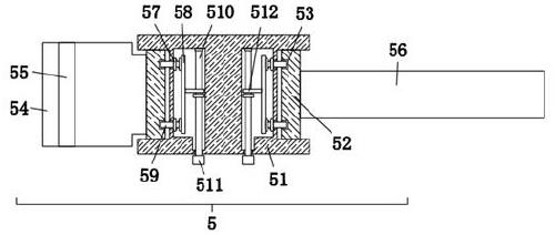
优选的,所述支撑机构包括连接座,所述连接座设置在支撑杆的顶端,所述连接座的左右两侧均通过轴承安装有圆杆,所述圆杆的外壁圆周前后两侧均对称开设有插孔,所述圆杆的外壁分别安装有第一支撑板和第二支撑板,所述第一支撑板的顶端装配有束缚带,所述连接座的内腔左右两侧前后两端均安装有弹簧的一端,且弹簧的另一端设置有连接板,所述连接板的外侧前后两端均对称安装有插杆的一端,所述插杆的另一端依次贯穿弹簧和连接座且延伸进相对应插孔的内腔,所述连接座的内腔后侧左右两端均通过轴承安装有连接杆的一端,所述连接杆的另一端延伸出连接座的前端面且设置有套筒,所述套筒的外壁上固定缠绕有连接绳的一端,且连接绳的另一端固定连接在连接板的内侧。
优选的,所述插孔的数量为若干个,且每两个相邻插孔之间的间距为1cm。
与现有技术相比,本实用新型的有益效果是:该超声引导下腕及指腱鞘炎治疗固定装置,通过配重块可以增加整体的重量,从而提高其稳定性,通过第二支撑板可以对前臂进行支撑,通过第一支撑板可以对手掌进行支撑,通过束缚带可以对手掌进行捆绑限位,保证手指可长时间处于伸直的状态,通过圆杆、插孔、弹簧、连接板、插杆、连接杆、套筒和连接绳之间的配合,从而可以调节第一支撑板与第二支撑板之间的角度且加以固定,通过升降机构可以调节支撑机构的位置高度,该装置可在对患者进行治疗时,将其体位固定,避免由于患者的体位不配合而导致穿刺部位不准确或无法将药物精确注射到病变部位,大大提高穿刺针操作的成功率,同时,其操作简单便捷,可根据使用需求灵活地调节其固定高度及角度,满足不同患者的使用需求,使用灵活,实用性强。
【附图】:





























