授权专利
【实用新型】一种产后会阴清洗器
专利号:ZL202021670111.0
申请日:20200812
发明人:李蕊
法律状态:授权
公开号:CN213554296U
授权公告日:2021-06-29
交易方式:转让; 许可
【摘要】:
本实用新型公开了一种产后会阴清洗器,涉及到会阴清洗器领域,包括加压杆位于加压筒中的端部固定设有一圈磁性吸环,所述磁性吸环的外圈处固定设有活动贴合并密封在加压筒内壁上的橡胶塞,所述加压筒的外部活动套设有可沿着加压筒长度方向滑动并与磁性吸环相吸固定的金属套,所述金属套的外圈处设有多组扇叶,加压杆升降的时候能够通过与金属套相吸的磁性吸环带动金属套以加压筒的长度方向升降,而升降的金属套外部扇叶受会阴清洗器壳体内部的水压时可进行旋转,旋转的扇叶加速会阴清洗器壳体中水和药剂的混合,混合程度高。
【技术领域】:
本实用新型涉及会阴清洗器领域,特别涉及一种产后会阴清洗器。
【实用新型内容】:
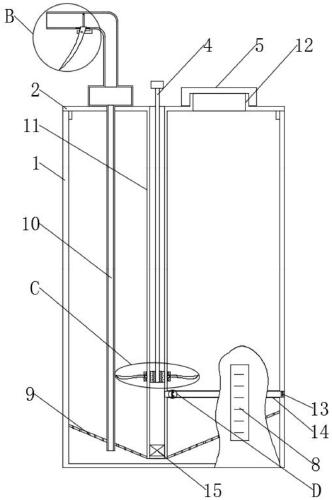
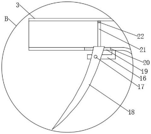
本实用新型提供如下技术方案:一种产后会阴清洗器,包括会阴清洗器壳体,所述会阴清洗器壳体呈上端开口的圆筒状结构,会阴清洗器壳体的上端开口位置通过螺纹配合密封有会阴清洗器壳盖,所述会阴清洗器壳盖的表面依次设有缓流盒、加压杆和加水口盖,所述会阴清洗器壳盖的表面设有通向会阴清洗器壳体内部的加水口,所述加水口盖通过螺纹配合连接在加水口上,所述会阴清洗器壳盖的表面连通会阴清洗器壳体的内外设有延伸至会阴清洗器壳体底部并与会阴清洗器壳体底部之间保持间距的加压筒,所述缓流盒的上端连通设有喷头,所述缓流盒的下端连通有设于会阴清洗器壳体内部的吸水管,所述会阴清洗器壳体的内部低端固定设有气泡生成板,所述吸水管的底部延伸至气泡生成板的下方并与会阴清洗器壳体的底部之间设有间距,所述加压杆位于加压筒中的端部固定设有一圈磁性吸环,所述磁性吸环的外圈处固定设有活动贴合并密封在加压筒内壁上的橡胶塞,所述加压筒的外部活动套设有可沿着加压筒长度方向滑动并与磁性吸环相吸固定的金属套,所述金属套的外圈处设有多组扇叶,所述加压筒的下端设有由加压筒中向会阴清洗器壳体中单向进气的单向气阀,所述单向气阀与橡胶塞之间的加压筒侧面一体设有连通会阴清洗器壳体外部的进气管,所述进气管靠近会阴清洗器壳体外部的一端设有过滤棉块,所述进气管靠近加压筒的一端设有供会阴清洗器壳体外部的气体单向进入加压筒中的进气板。
优选的,所述喷头呈扁状矩形壳体的L字形结构,喷头的端部设有扣板,所述喷头的端部下表面设有避让槽,避让槽中固定设有可弹性变形的橡胶垫,所述扣板固定设置在橡胶垫的中部位置,所述扣板的端部固定设有密封于喷头内部的活动封板,所述活动封板的上端固定设有可弹性变形并将活动封板与喷头内壁之间缝隙处密封的橡胶条,所述喷头的端部下表面固定设有对称设置在扣板两侧的支杆,所述扣板通过转动杆活动铰接在两组对称的支杆之间。
优选的,所述会阴清洗器壳体的外圈表面设有刻度与温度计。
优选的,所述气泡生成板呈漏斗状结构,气泡生成板的表面设有多组上下贯穿的通气孔。
优选的,所述金属套的内壁中活动镶嵌有多组活动贴合于加压筒外表面的滚珠。
优选的,所述进气管靠近加压筒的一端内壁上固定设有挡环,所述进气板活动密封于挡环一侧并贴合于挡环靠近加压筒的一侧,进气板与进气管的内壁之间留有进气间隙,所述挡环的表面设有拉持槽,所述拉持槽的底部固定设有拉持进气板的弹簧。
本实用新型的技术效果和优点:
本实用新型的一种产后会阴清洗器,喷头呈扁状矩形壳体的L字形结构,喷头的端部设有扣板,所述喷头的端部下表面设有避让槽,避让槽中固定设有可弹性变形的橡胶垫,所述扣板固定设置在橡胶垫的中部位置,所述扣板的端部固定设有密封于喷头内部的活动封板,所述活动封板的上端固定设有可弹性变形并将活动封板与喷头内壁之间缝隙处密封的橡胶条,所述喷头的端部下表面固定设有对称设置在扣板两侧的支杆,所述扣板通过转动杆活动铰接在两组对称的支杆之间,扣板扣动程度不同时,活动封板与喷头内壁之间的缝隙大小不同,达到了改变水量大小的目的,且喷头喷出的水因其形状原因呈平铺状喷出,喷出速度缓慢,且清洗范围大,而缓流盒的直径大于喷头和吸水管的直径,使得从喷头喷出的水先经过缓流盒进行缓流后喷出,不会高速喷出而刺激会阴处;
本实用新型的一种产后会阴清洗器,加压杆下降时可将加压筒中的气体充入会阴清洗器壳体中进行加压,从而在打开喷头位置的活动封板时使内部的水因内部高压作用而从喷头位置喷出,而加压杆上升时,可通过可单方向打开的进气板向加压筒中补充气体,以供不断向会阴清洗器壳体中充压使用;
本实用新型的一种产后会阴清洗器,加压杆位于加压筒中的端部固定设有一圈磁性吸环,所述磁性吸环的外圈处固定设有活动贴合并密封在加压筒内壁上的橡胶塞,所述加压筒的外部活动套设有可沿着加压筒长度方向滑动并与磁性吸环相吸固定的金属套,所述金属套的外圈处设有多组扇叶,加压杆升降的时候能够通过与金属套相吸的磁性吸环带动金属套以加压筒的长度方向升降,而升降的金属套外部扇叶受会阴清洗器壳体内部的水压时可进行旋转,旋转的扇叶加速会阴清洗器壳体中水和药剂的混合,混合程度高;
会阴清洗器壳体下端内部设有设置在加压筒底端上方的气泡生成板,且气泡生成板呈漏斗状结构,从加压筒底端进入会阴清洗器壳体内部的空气能够沿着气泡生成板底面逐渐上升,且上升过程中的空气经过气泡生成板上的多组通气孔被分隔呈多个小气泡,多个小气泡从会阴清洗器壳体底部上升,从而使得会阴清洗器壳体内部的水翻滚,增加水和药剂的混合程度。
【附图】:































