授权专利
【实用新型】一种保护性约束衣
专利号:ZL202022696899.9
申请日:20201119
发明人:郭芮
法律状态:授权
公开号:CN213756807U
授权公告日:2021-07-23
交易方式:转让; 许可
【摘要】:
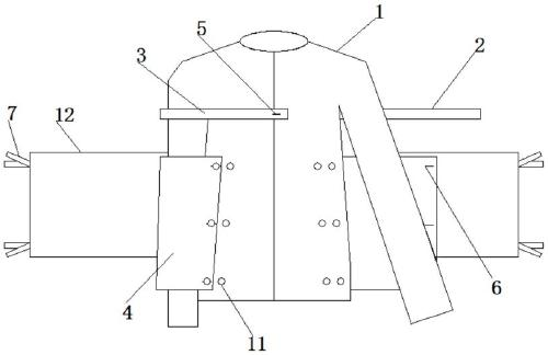
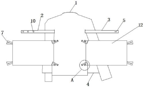
本实用新型公开了一种保护性约束衣,包括约束衣、束带和连接带,第一束肩带背部缝合有三个第一纽扣,第二束肩带上设有第一扣孔,约束衣两侧腰部均设有两组通孔,每组通孔数量为两个,连接带一端上下两侧均缝合有第一系带,连接带偏离第一系带的一端上缝合有第二系带,第二系带穿过通孔并系紧在约束衣上,两个束带分别缝合在约束衣两侧,束带偏离约束衣的一端上设有第二扣孔,约束衣前端两侧均设有两排第二纽扣,通过设置约束衣背部两侧设有连接带,连接带系在病床上,从而可以将患者约束在病床上,达到防坠的效果,通过设置束带扣合在约束衣前端从而可以将患者的手臂束缚住,防止患者拔管,解决了患者坠床和拔管的问题。
【技术领域】:
本实用新型涉及医疗用品技术领域,尤其涉及一种保护性约束衣。
【实用新型内容】:
一种保护性约束衣,包括约束衣、束带和连接带,所述约束衣一侧肩膀处固定缝合有第一束肩带,所述第一束肩带背部缝合有三个第一纽扣,所述约束衣另一侧肩膀处固定缝合有第二束肩带,所述第二束肩带上设有第一扣孔,所述约束衣两侧腰部均设有两组通孔,每组所述通孔数量为两个,所述连接带一端上下两侧均缝合有第一系带,所述连接带偏离第一系带的一端上缝合有第二系带,所述第二系带穿过通孔并系紧在约束衣上,两个所述束带分别缝合在约束衣两侧,所述束带偏离约束衣的一端上设有第二扣孔,所述约束衣前端两侧均设有两排第二纽扣。
进一步地,所述束带位于连接带前端,且所述束带的长度小于连接带的长度。
进一步地,所述连接带通过第二系带活动连接在约束衣两侧。
进一步地,所述第一束肩带和第二束肩带均缝合在约束衣背部。
相比于现有技术,本实用新型的有益效果在于:
1、通过设置约束衣背部两侧设有连接带,连接带系在病床上,从而可以将患者约束在病床上,达到防坠的效果,通过设置束带扣合在约束衣前端从而可以将患者的手臂束缚住,防止患者拔管,解决了患者坠床和拔管的问题。
2、通过设置连接带通过第二系带系在约束衣上,从而方便下床,且下床时不需要带着连接带,减轻负担,同时方便更换约束衣。
【附图】:




























