授权专利
【实用新型】一种膀胱清洗液收集装置
专利号:ZL202021750857.2
申请日:20200820
发明人:覃远静
法律状态:授权
公开号:CN213554297U
授权公告日:2021-06-29
交易方式:转让; 许可
【摘要】:
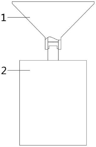
本实用新型公开了一种膀胱清洗液收集装置,涉及到医疗医护领域,包括:开口朝向上方的上收集部、下收集部;所述上收集部和下收集部之间可拆卸地连接为一体,下收集部放置于地面,上收集部位于下收集部的上端,所述上收集部的上端开口朝向上方,上收集部的下端开口朝向下方的下收集部,且上收集部和下收集部之间设有在不使用时将上收集部和下收集部之间分隔开的隔离件,隔离件可受力形变;所述上收集部和下收集部连接时,上收集部可上下旋进,通过上收集部的向下旋进以穿过隔离件;上收集部用于收集接纳废水,而下收集部则具有较大的容积以容纳废水,并且上收集部和下收集部之间可拆分以方便进行单独的清洗和消毒。
【技术领域】:
本实用新型涉及医疗医护领域,特别涉及一种膀胱清洗液收集装置。
【实用新型内容】:
本实用新型提供如下技术方案:一种膀胱清洗液收集装置,包括:开口朝向上方的上收集部、下收集部;所述上收集部和下收集部之间可拆卸地连接为一体,下收集部放置于地面,上收集部位于下收集部的上端,所述上收集部的上端开口朝向上方,上收集部的下端开口朝向下方的下收集部,且上收集部和下收集部之间设有在不使用时将上收集部和下收集部之间分隔开的隔离件,隔离件可受力形变;所述上收集部和下收集部连接时,上收集部可上下旋进,通过上收集部的向下旋进以穿过隔离件。
作为上述方案的进一步优化,所述上收集部呈斗状结构,且上收集部的直径自上端开口向下端开口逐渐变小。
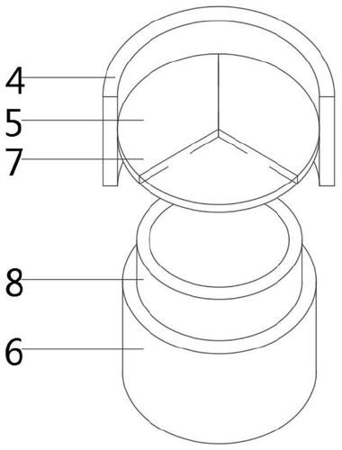
作为上述方案的进一步优化,所述下收集部呈矩形状结构,且下收集部的上端设有向上凸出的输入管,输入管可插入下端开口内。
作为上述方案的进一步优化,所述下端开口呈竖直延伸状,且下端开口通过内外螺纹配合套设于输入管的外侧,且下端开口可沿输入管外侧上下旋进。
作为上述方案的进一步优化,所述隔离件设置在下端开口内,且隔离件包括:三个相互叠合的橡胶片,且三个橡胶片相互叠合时将下端开口的径向密封。
作为上述方案的进一步优化,所述输入管的上端还设有向上凸出的延伸部,所述延伸部的直径小于下端开口的直径。
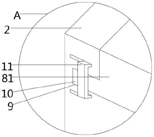
作为上述方案的进一步优化,所述下收集部的上端面开设有矩形槽,矩形槽内滑动设有上盖板,所述矩形槽的侧壁对应上盖板的位置向内凹的凹道,且上盖板对应凹道的位置设有向外凸出的凸条,所述凸条滑入所述凹道内。
作为上述方案的进一步优化,所述矩形槽外侧设有阻挡上盖板移动的限位块,所述限位块呈U形,限位块滑动设置于下收集部侧面,且限位块可通过滑动以与上盖板贴合并将其抵挡。
作为上述方案的进一步优化,所述下收集部的侧面还固定连接有提手,所述提手的侧视截面呈三角形,且提手的正面镂空设有提槽。
本实用新型的技术效果和优点:
本实用新型的一种膀胱清洗液收集装置,其一,本实用新型分为上收集部和下收集部,上收集部用于收集接纳废水,而下收集部则具有较大的容积以容纳废水,并且上收集部和下收集部之间可拆分以方便进行单独的清洗和消毒,杜绝一体结构存在的清理死角问题;
其二,上收集部和下收集部之间设有隔离件,在不使用时,也就是上收集部向上旋进后,隔离件将下端开口的径向密封实现下收集部的相对密闭,下收集部内的废水不与外界接触形成隔离,避免病菌的直接传播,且通过上收集部的向下旋进以使延伸部顶动隔离件,从而上收集部和下收集部之间上下连通,本实用新型能够正常使用,切换方便使用方便;
其三,下收集部的上端面为上盖板,上盖板可通过滑动实现分离以使下收集部打开,以方便后续的清理和消毒,使得下收集部不存在清理、消毒死角,设置的限位块能够通过滑动实现抵挡上盖板的位置,也就是说,上盖板的拆装均很方便;另外设置的提手便于医护人员搬运或移动下收集部。
【附图】:





























