授权专利
【实用新型】一种局部氧疗护套
专利号:ZL202021750721.1
申请日:20200820
发明人:赵银平
法律状态:授权
公开号:CN213251129U
授权公告日:2021-05-25
交易方式:转让; 许可
【摘要】:
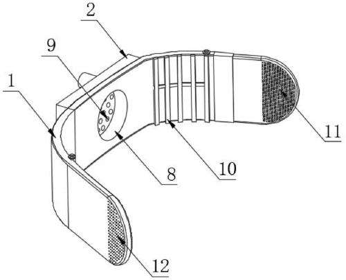
本实用新型涉及医疗辅助设备领域,具体为一种局部氧疗护套,包括护套主体,所述护套主体的外端一侧连通有通气罩,所述通气罩的外端一侧固定安装有连接嘴,所述连接嘴的外端一侧设置有连接管,所述连接管的外端对应连接嘴的一侧固定安装有单向供气管,且连接管通过单向供气管与连接嘴固定连接,所述连接管的外端另一侧固定安装有供氧机,所述连接管的外表面一侧连通有浓度调节计,所述护套主体的内部一侧开设有连接凹槽,所述连接凹槽的内部一侧贯穿开设有喷氧嘴。本实用新型所述的一种局部氧疗护套,能够使得整体装置实现更便捷的进行固定,有效的促进伤口的愈合恢复,提高整体装置的实用性,带来更好的使用前景。
【技术领域】:
本实用新型涉及医疗辅助设备领域,具体是一种局部氧疗护套。
【实用新型内容】:
一种局部氧疗护套,包括护套主体,所述护套主体的外端一侧连通有通气罩,所述通气罩的外端一侧固定安装有连接嘴,所述连接嘴的外端一侧设置有连接管,所述连接管的外端对应连接嘴的一侧固定安装有单向供气管,且连接管通过单向供气管与连接嘴固定连接,所述连接管的外端另一侧固定安装有供氧机,所述连接管的外表面一侧连通有浓度调节计,所述护套主体的内部一侧开设有连接凹槽,所述连接凹槽的内部一侧贯穿开设有喷氧嘴,所述护套主体的外端两侧均固定安装有弹性橡皮筋。
作为本实用新型进一步的方案:所述护套主体的外端一侧固定安装有魔术贴毛面,所述护套主体的外端另一侧固定安装有魔术贴勾面,且魔术贴毛面与魔术贴勾面之间相互粘合。
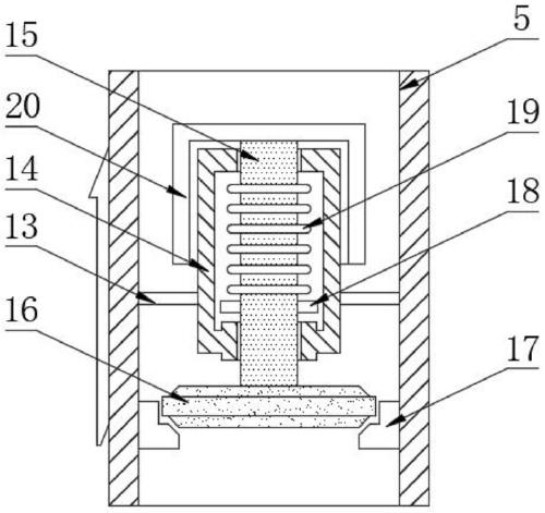
作为本实用新型再进一步的方案:所述单向供气管的内壁一侧固定安装有镂空连接套,所述镂空连接套的外端一侧固定安装有固定套,且单向供气管通过镂空连接套与固定套固定连接。
作为本实用新型再进一步的方案:所述固定套的内部一侧贯穿设置有阀杆,且单向供气管通过固定套与阀杆滑动连接,所述阀杆的外端一侧固定安装有阀板。
作为本实用新型再进一步的方案:所述单向供气管的内壁对应阀板的一侧固定安装有阀座,所述阀杆的外表面两侧均固定安装有限位块,且限位块设置在固定套的内部一侧。
作为本实用新型再进一步的方案:所述固定套的内部靠近限位块的一侧设置有弹簧,且弹簧套接在阀杆的外壁一侧,所述固定套的外壁一侧套接有滑动套,且滑动套与阀杆固定连接,且阀杆通过滑动套与固定套滑动连接。
作为本实用新型再进一步的方案:所述单向供气管的内壁对应连接嘴的一侧固定安装有密封圈,且单向供气管套接在连接嘴的外壁一侧,所述护套主体的外壁靠近连接凹槽的一侧固定安装有硅胶垫。
与现有技术相比,本实用新型的有益效果是:
1、通过设置的护套主体,当使用人员需要进行氧疗时,则可以将护套主体卡在患者的患处,通过弹性橡皮筋则可以拉伸护套主体更好的包裹皮肤,通过魔术贴毛面与魔术贴勾面的配合将护套主体进行固定,使用人员将连接管设置的单向供气管套在连接嘴上,通过供氧机提供氧气后,则可以通过喷氧嘴进行氧疗使用,有效的提高该装置使用时的便捷性,提高该装置使用是的效果,便于使用人员进行使用,相对于传统方式更好。
2、通过设置的单向供气管,为了提高供氧时可以效果更好,则可以通过固定套中设置的弹簧顶住限位块,则可以带动阀板抵向阀座处,通过阀板与阀座之间的配合,则可以实现单向供气管进行单向通气使用,避免喷氧嘴供氧时回流,导致氧气不洁使得伤口感染,有效的提高该装置使用时的实用性,便于使用人员进行使用,相对于传统方式更好。
【附图】:




























