授权专利
【实用新型】一种具有清洗结构的胃镜装置
专利号:ZL202021610329.7
申请日:20200806
发明人:吴媛媛
法律状态:授权
公开号:CN213129407U
授权公告日:2021-05-07
交易方式:转让; 许可
【摘要】:
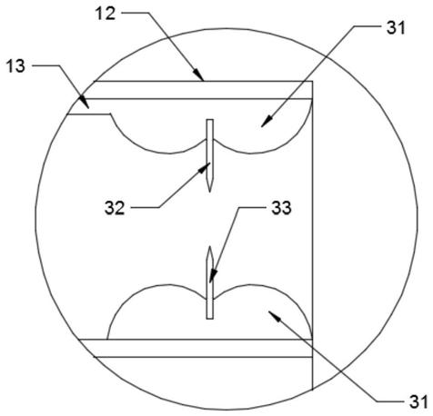
本实用新型提供了一种具有清洗结构的胃镜装置,包括胃镜组件和清洗组件,所述胃镜组件包括胃镜管,该胃镜管上侧设有与之一体成型设置的通气管,该通气管右端内侧设有环形弹性气囊,所述弹性气囊与所述通气管的轴线在同一水平线上,所述通气管内设有与弹性气囊连通的气囊管,所述弹性气囊上固设有两组相互对称且竖直设置的第一切刀和第二切刀;所述胃镜管右端内侧设有摄像头,所述胃镜管远离所述摄像头的一端设有胃镜固定盘,所述胃镜固定盘与所述胃镜管和通气管固连,所述胃镜固定盘上设有两组相互对称设置的胃镜固定孔;所述胃镜管与通气管的连接处前后侧均设有条形槽。本实用新型解决了现有胃镜功能单一,胃镜清洗时难以固定,容易带有残留物等问题。
【技术领域】:
本实用新型属于医疗设备技术领域,具体涉及一种具有清洗结构的胃镜装置。
【实用新型内容】:
本实用新型提供了一种具有清洗结构的胃镜装置,解决了现有胃镜功能单一,胃镜清洗时难以固定,容易带有残留物等问题。
本实用新型解决其技术问题所采用的技术方案是:一种具有清洗结构的胃镜装置,包括胃镜组件和清洗组件,所述胃镜组件包括胃镜管,该胃镜管上侧设有与之一体成型设置的通气管,该通气管右端内侧设有环形弹性气囊,所述弹性气囊与所述通气管的轴线在同一水平线上,所述通气管内设有与弹性气囊连通的气囊管,所述弹性气囊上固设有两组相互对称且竖直设置的第一切刀和第二切刀;所述胃镜管右端内侧设有摄像头,所述胃镜管远离所述摄像头的一端设有胃镜固定盘,所述胃镜固定盘与所述胃镜管和通气管固连,所述胃镜固定盘上设有两组相互对称设置的胃镜固定孔;所述胃镜管与通气管的连接处前后侧均设有条形槽;
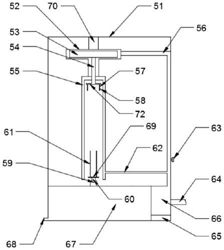
所述清洗组件包括箱体,该箱体前侧设有箱门,所述箱体内部下端从左至右的方向上依次设有废液箱和蓄水箱,所述废液箱顶面设有若干通孔,所述蓄水箱内设有加热块;
所述箱体内部顶面设有固定柱,该固定柱下端与一竖直截面为T型的固定架连接,所述固定架下端与一竖直截面为倒立U型的喷洗罩固连;该喷洗罩内设有容纳腔,所述喷洗罩内部相对面上设有若干与容纳腔连通的喷孔;
所述固定架内设有能够旋转的第一旋转组件,所述废液箱顶面设有与所述第一旋转组件对应的且用于夹持所述胃镜组件的第二旋转组件;
所述箱体内部设有第一管路,该第一管路一端与所述蓄水箱连通,另一端与所述固定架连通;所述第一管路与所述喷洗罩通过一第二管路连通。
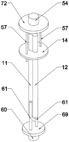
优选的,所述固定架包括水平设置的圆柱形固定架,该圆柱形固定架下侧设有连接筒,所述圆柱形固定架与连接筒轴线在同一竖直线上,所述圆柱形固定架外径大于所述连接筒外径,所述圆柱形固定架与所述第一管路连通;
所述第一旋转组件包括设置在圆柱形固定架内的旋转扇,该旋转扇能够在所述圆柱形固定架内转动,所述旋转扇下端轴线处与一第一旋转轴连接;所述第一旋转轴穿过所述喷洗罩顶面且深入其内部,所述第一旋转轴下端与一第一旋转盘固连,该第一旋转盘下端设有能够与所述胃镜固定孔相配合的固定杆,所述固定杆上设有弹性块,所述第一旋转轴与所述喷洗罩轴承连接。
优选的,所述第二旋转组件包括设置在废液箱顶面的固定台,所述固定台顶面从下至上的方向上依次设有第二旋转轴和第二旋转盘,所述第二旋转盘上侧设有两组对称设置的伸缩档杆,所述伸缩档杆能够与所述条形槽配合;所述第一旋转轴、第一旋转盘、第二旋转轴、第二旋转盘的轴线均在同一竖直线上。
优选的,所述箱体左侧设有与所述废液箱连通的排液管,所述箱体右侧设有与所述蓄水箱连通的进水管。
优选的,所述第一管路上设有用于启闭第一管路的调节阀。
本实用新型的有益效果为:
1、本产品通过胃镜管上设置的通气管,在做胃镜检查过程中,若发现食道、胃、十二指肠等部位存有异物,可使通气管与气泵连接,使通气管产生吸力,进而使检查位置的异物吸附在通气管上或者直接通吸入通气管内,能够快速的取出异物;若在检查的过程中发现病变组织且需要做进一步的病理时,在通气管具有吸力的前提下,使气囊管与气泵连通并向弹性气囊内冲入气体,最终通过弹性气囊上的切刀切割病变组织,完成病变组织的提取,避免对患者造成二次伤害,同时也减少了患者的经济负担。
2、本产品通过固定杆与胃镜固定孔的配合,以及伸缩档杆与条形槽的配合,有效提高胃镜在清洗时的稳定性;通过清洗架对旋转中的胃镜进行清洗,确保清洗过程无死角,清洗彻底。
3、本产品通过蒸汽对胃镜进行消毒,并通过蒸汽或水来推动旋转扇转动,进而实现胃镜在清洗过程的转动,使清洗更加快捷。
【附图】:
































