授权专利
【实用新型】一种可装夹超声探头的手部护具
专利号:ZL202021436529.5
申请日:20200720
发明人:周静
法律状态:授权
公开号:CN213156014U
授权公告日:2021-05-11
交易方式:转让; 许可
【摘要】:
本实用新型涉及一种可装夹超声探头的手部护具,属于医疗护具技术领域,该可装夹超声探头的手部护具包括手部护具和夹具,手部护具远离拇指的一侧设有承托板,承托板的一端延伸至套口,夹具固定在承托板上且位于手部护具的手心一侧,采用该结构,使用时将手部护具穿戴在手上,超声探头穿过夹具并夹紧,夹具卡在超声探头前端,承托板贴在手部远离拇指的一侧并延伸至手腕以托起手掌和手腕,使其与手臂保持在一条直线上,发力时无需弯曲手腕,直接通过手臂的力量来带动手掌,部分力量通过五指握紧探头柄传递给探头,部分力量通过承托板传递给夹具进而传递给探头,借助手臂力量减轻手部压力,避免重复弯曲手腕,减少应力疲劳损伤,避免腱鞘炎的发生。
【技术领域】:
本实用新型属于医疗护具技术领域,特别涉及一种可装夹超声探头的手部护具。
【实用新型内容】:
本实用新型提供一种可装夹超声探头的手部护具,用以解决现有技术中长时间超声检查导致的手掌和手腕负荷重、易疲劳损伤的技术问题。
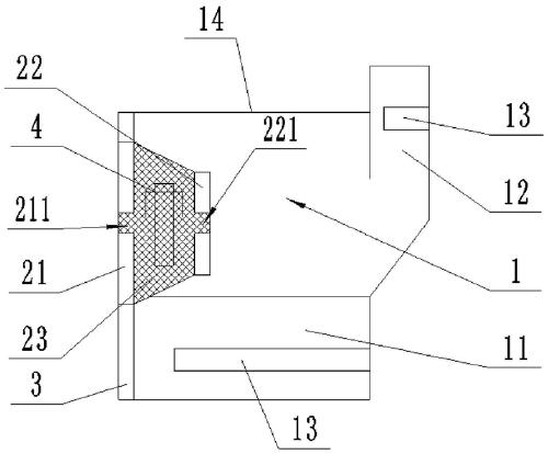
本实用新型通过下述技术方案实现:一种可装夹超声探头的手部护具,包括手部护具和用以装夹超声探头的夹具,所述手部护具远离拇指的一侧设有承托板,所述承托板的一端沿所述手部护具的长度方向延伸至套口,所述夹具固定在所述承托板上且位于所述手部护具的手心一侧。
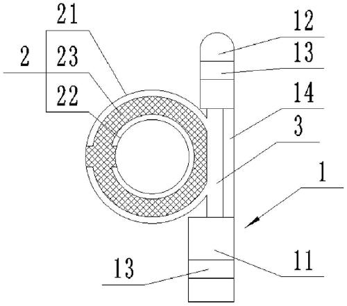
为了更好的实现本实用新型,在上述结构中作进一步的优化,所述夹具包括第一固定环、第二固定环以及连接在所述第一固定环和第二固定环之间的弹性面料,所述第一固定环、第二固定环和弹性面料围成筒状结构,所述第一固定环的一端固定在所述承托板上。
为了更好的实现本实用新型,在上述结构中作进一步的优化,所述第一固定环的直径为A,所述第二固定环的直径为B,A>B,所述第一固定环、第二固定环和弹性面料围成锥筒状结构。
为了更好的实现本实用新型,在上述结构中作进一步的优化,所述第一固定环远离所述承托板的一端设有第一缺口,所述第二固定环上对应所述第一缺口的位置设有第二缺口。
为了更好的实现本实用新型,在上述结构中作进一步的优化,还包括魔术扣,所述魔术扣设置在所述弹性面料外侧。
为了更好的实现本实用新型,在上述结构中作进一步的优化,所述手部护具包括手腕部、手背部和拇指套,所述手腕部与手背部一体成形,所述拇指套设置在所述手背部的一侧,所述承托板固定在所述手背部的另一侧,所述手腕部和拇指套上均设有收紧结构。
为了更好的实现本实用新型,在上述结构中作进一步的优化,所述收紧结构为魔术贴或松紧带。
为了更好的实现本实用新型,在上述结构中作进一步的优化,所述第一固定环与所述承托板一体成形。
为了更好的实现本实用新型,在上述结构中作进一步的优化,所述第一固定环、第二固定环和承托板均为由硬质材料制成的结构件。
为了更好的实现本实用新型,在上述结构中作进一步的优化,所述弹性面料为氨纶或涤纶或莱卡。
本实用新型相较于现有技术具有以下有益效果:
本实用新型提供的可装夹超声探头的手部护具包括手部护具和用以装夹超声探头的夹具,手部护具远离拇指的一侧设有承托板,承托板的一端沿手部护具的长度方向延伸至套口,夹具固定在承托板上且位于手部护具的手心一侧,采用该结构,使用时将手部护具穿戴在手上,超声探头穿过夹具并夹紧,夹具卡在超声探头检测面与探头柄交接的位置上,承托板贴在手部远离拇指的一侧并延伸至手腕位置,从而可托起手掌和手腕使其与手臂保持在一条直线上,发力时无需弯曲手腕,直接通过手臂的力量来带动手掌,一部分力量通过五指握紧探头柄传递给探头,另一部分力量则通过承托板传递给夹具进而传递给探头,借助了手臂的力量,减轻了手部的压力,避免重复的弯曲手腕部位,减少了应力疲劳损伤,避免了腱鞘炎的发生,使得本实用新型的实用性更强。
【附图】:



























