授权专利
【实用新型】一种临床护理中护士用多功能护腕
专利号:ZL202021205553.8
申请日:20200624
发明人:郝佳佳
法律状态:授权
公开号:CN212697762U
授权公告日:2021-03-16
交易方式:转让; 许可
【摘要】:
本实用新型公开了一种临床护理中护士用多功能护腕,涉及临床护理用品技术领域,包括长方形状的护腕本体,所述护腕本体的表面一边设有若干个魔术贴纤维层,所述护腕本体的另一边上设有与魔术贴纤维层数量相等的魔术贴刺毛层,所述魔术贴刺毛层的有端通过弹性带固定连接在护腕本体上。本实用新型通过在若干个魔术贴组合固定开放式的护腕本体,佩戴方便,可以根据不同粗细的手腕调节魔术贴的贴合位置,同时在护腕本体的上设置胶布放置机构,以及胶布的切割机构可以方便护理人员使用医用胶布,且切割简单,护腕本体上端的储物袋可以放置棉签或一些小的护理器件,实现护腕在多功能性,给护理人员带来极大的方便,提高护理工作的效率。
【技术领域】:
本实用新型涉及临床护理用品技术领域,具体是一种临床护理中护士用多功能护腕。
【实用新型内容】:
本实用新型的目的在于提供一种临床护理中护士用多功能护腕,以解决上述背景技术中提出的问题。
为实现上述目的,本实用新型提供如下技术方案:
一种临床护理中护士用多功能护腕,包括长方形状的护腕本体,所述护腕本体的表面一边设有若干个魔术贴纤维层,所述护腕本体的另一边上设有与魔术贴纤维层数量相等的魔术贴刺毛层,所述魔术贴刺毛层的有端通过弹性带固定连接在护腕本体上,所述护腕本体的上表面上设有胶布放置机构,所述护腕本体的上表面上位于胶布放置机构的一端设有胶布切割机构,所述护腕本体的上表面上还设有储物袋。
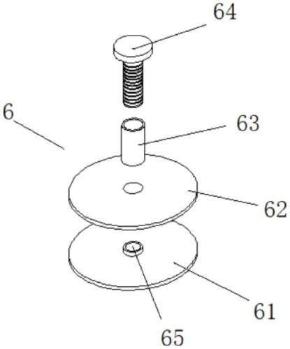
作为本实用新型的进一步方案:所述胶布放置机构包括底盘、顶盘、套管和连接螺丝,所述底盘的下端固定连接在护腕本体的上,所述底盘的上端面上设有螺孔,所述顶盘中间设有通孔,所述连接螺丝的下端穿过通孔和底盘上的螺孔螺纹连接,所述套管套设在位于底盘和顶盘之间的连接螺丝外壁上。
作为本实用新型的再进一步方案:所述胶布切割机构包括固定座和切割刀片,所述固定座的下端固定连接在护腕本体上,所述切割刀片的一端固定连接在固定座的一侧面,所述切割刀片的另一端设有若干个刀齿。
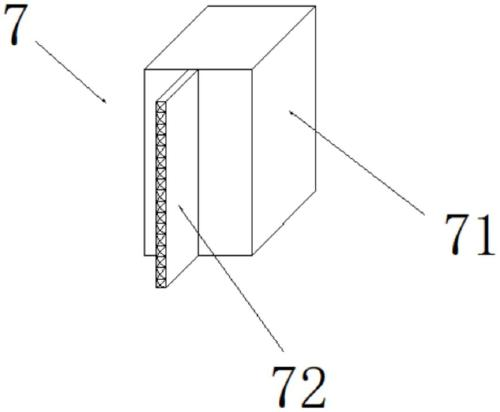
作为本实用新型的再进一步方案:所述护腕本体的下端面设有缓冲层。
作为本实用新型的再进一步方案:所述缓冲层为弹性纤维材质制成。
作为本实用新型的再进一步方案:所述护腕本体为皮革材质制成。
与现有技术相比,本实用新型具有如下优点:
本实用新型通过在若干个魔术贴组合固定开放式的护腕本体,佩戴方便,可以根据不同粗细的手腕调节魔术贴的贴合位置,同时在护腕本体的上设置胶布放置机构,以及胶布的切割机构可以方便护理人员使用医用胶布,且切割简单,护腕本体上端的储物袋可以放置棉签或一些小的护理器件,实现护腕在多功能性,给护理人员带来极大的方便,提高护理工作的效率。
【附图】:




























