授权专利
【实用新型】一种肢体保护结构
专利号:ZL202021739491.9
申请日:20200819
发明人:成雪
法律状态:授权
公开号:CN212787510U
授权公告日:2021-03-26
交易方式:转让; 许可
【摘要】:
本实用新型公开了一种肢体保护结构,涉及到肢体保护结构领域,包括贴合于脚部底部的保护垫,保护垫包括与脚部接触的棉质层和与脚部下方地面或者鞋底接触的耐磨层,保护垫的两端均一体设有延伸垫,保护垫一端的延伸垫上设有可绑缚固定在脚踝上方足部的腿部绑带,保护垫另一端的延伸垫上设有可绑缚固定在脚面的脚面绑带,保护垫能够良好的绑缚固定在脚部,用于对脚部的足底和脚踝位置进行保护,保护垫的下方设有第一弹力拉紧带和第二弹力拉紧带,脚面绑带和腿部绑带将保护垫绑缚在脚部时可通过第一弹力拉紧带粘附在第二弹力拉紧带上对脚面绑带和腿部绑带外部进行拉紧,避免脚面绑带和腿部绑带相对靠近而引起保护垫松懈的现象。
【技术领域】:
本实用新型涉及肢体保护结构领域,特别涉及一种肢体保护结构。
【实用新型内容】:
本实用新型的目的在于提供一种肢体保护结构,以解决上述背景技术中提出的问题。
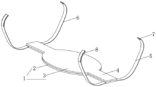
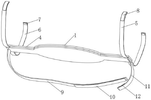
为实现上述目的,本实用新型提供如下技术方案:一种肢体保护结构,包括贴合于脚部底部的保护垫,所述保护垫包括与脚部接触的棉质层和与脚部下方地面或者鞋底接触的耐磨层,所述保护垫呈椭圆形结构,保护垫的两端均一体设有延伸垫,所述保护垫一端的延伸垫上设有可绑缚固定在脚踝上方足部的腿部绑带,保护垫另一端的延伸垫上设有可绑缚固定在脚面的脚面绑带。
优选的,所述腿部绑带包括第一绑带和第二绑带,所述第一绑带和第二绑带分别固定在延伸垫的端部两侧面,第一绑带的内侧面端部固定设有第一魔术母贴,第二绑带的外侧面端部固定有供第一魔术母贴粘附固定的第一魔术公贴,所述第一魔术公贴的长度大于第一魔术母贴的长度。
优选的,所述脚面绑带包括第一带和第二带,所述第一带和第二带分别固定在延伸垫的端部两侧面,第一带的内侧面端部固定设有第一魔术母贴,第二带的外侧面端部固定有供第一魔术母贴粘附固定的第一魔术公贴,所述第一魔术公贴的长度大于第一魔术母贴的长度。
优选的,所述保护垫的下方设有第一弹力拉紧带和第二弹力拉紧带,所述第一弹力拉紧带的一端固定在保护垫一端延伸垫的端部底面,第一弹力拉紧带的另一端底面固定设有第二魔术公贴,所述第二弹力拉紧带的一端固定在保护垫另一端延伸垫的端部底面,第二弹力拉紧带的另一端内侧面设有可粘附固定在第二魔术公贴上的第二魔术母贴。
优选的,所述第二魔术公贴的长度大于第二魔术母贴的长度。
本实用新型的技术效果和优点:
1、本实用新型的一种肢体保护结构,包括贴合于脚部底部的保护垫,保护垫包括与脚部接触的棉质层和与脚部下方地面或者鞋底接触的耐磨层,保护垫呈椭圆形结构,保护垫的两端均一体设有延伸垫,保护垫一端的延伸垫上设有可绑缚固定在脚踝上方足部的腿部绑带,保护垫另一端的延伸垫上设有可绑缚固定在脚面的脚面绑带,保护垫能够良好的绑缚固定在脚部,用于对脚部的足底和脚踝位置进行保护;
2、本实用新型的一种肢体保护结构,保护垫的下方设有第一弹力拉紧带和第二弹力拉紧带,第一弹力拉紧带的一端固定在保护垫一端延伸垫的端部底面,第一弹力拉紧带的另一端底面固定设有第二魔术公贴,第二弹力拉紧带的一端固定在保护垫另一端延伸垫的端部底面,第二弹力拉紧带的另一端内侧面设有可粘附固定在第二魔术公贴上的第二魔术母贴,脚面绑带和腿部绑带将保护垫绑缚在脚部时可通过第一弹力拉紧带粘附在第二弹力拉紧带上对脚面绑带和腿部绑带外部进行拉紧,避免脚面绑带和腿部绑带相对靠近而引起保护垫松懈的现象。
【附图】:





























