授权专利
【实用新型】一种重症临床用护理吸痰装置
专利号:ZL202021899340.X
申请日:20200903
发明人:胡美
法律状态:授权
公开号:CN213284754U
授权公告日:2021-05-28
交易方式:转让; 许可
【摘要】:
本实用新型公开了一种重症临床用护理吸痰装置,包括活塞柄,所述活塞柄的一端固定连接有活塞轴,所述活塞轴的一端固定连接有活塞。该重症临床用护理吸痰装置,通过活塞柄、活塞轴、活塞和针筒的配合设置,使用时医护人员拉动活塞柄,进而通过活塞轴、活塞和针筒产生吸力,从而起到了为该装置提供吸痰的吸力,通过第一连接管、旋钮盖、旋钮口和储痰瓶的配合设置,使用时医护人员将储痰瓶通过旋钮口拧进旋钮盖,从而起到了收集痰液的作用,并且方便了医护人员拆卸以及清理,通过第二连接管、吸痰头和吸痰软管的配合设置,使用时医护人员将吸痰软管插入患者咽喉处,进而拉动活塞柄,从而起到了吸取痰液的作用。
【技术领域】:
本实用新型涉及医疗器械技术领域,具体为一种重症临床用护理吸痰装置。
【实用新型内容】:
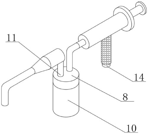
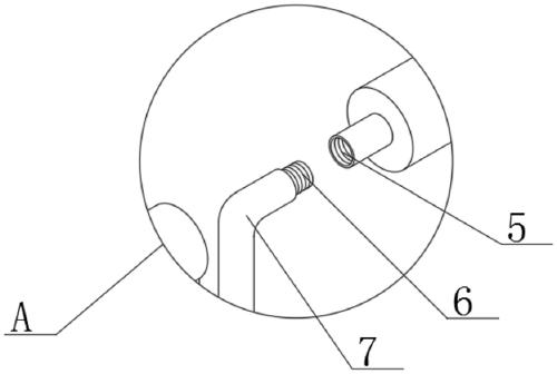
一种重症临床用护理吸痰装置,包括活塞柄,所述活塞柄的一端固定连接有活塞轴,所述活塞轴的一端固定连接有活塞,所述活塞的表面活动连接有针筒,所述针筒的一端固定连接有螺纹接头,所述螺纹接头的内部通过螺纹接口螺纹连接有第一连接管,所述第一连接管的一端固定连接有旋钮盖,所述旋钮盖的内部通过旋钮口螺纹连接有储痰瓶。
可选的,所述旋钮盖的表面固定连接有第二连接管,所述第二连接管的一端固定连接有吸痰头,所述吸痰头的一端固定连接吸痰软管。
可选的,所述针筒的下表面固定连接有手握杆,所述手握杆的表面套接有防滑套。
可选的,所述活塞的表面设置有密封圈。
可选的,所述针筒表面的一侧固定连接有助力圈。
本实用新型提供了一种重症临床用护理吸痰装置,具备以下有益效果:
该重症临床用护理吸痰装置,通过活塞柄、活塞轴、活塞和针筒的配合设置,使用时医护人员拉动活塞柄,进而通过活塞轴、活塞和针筒产生吸力,从而起到了为该装置提供吸痰的吸力,通过第一连接管、旋钮盖、旋钮口和储痰瓶的配合设置,使用时医护人员将储痰瓶通过旋钮口拧进旋钮盖,从而起到了收集痰液的作用,并且方便了医护人员拆卸以及清理,通过第二连接管、吸痰头和吸痰软管的配合设置,使用时医护人员将吸痰软管插入患者咽喉处,进而拉动活塞柄,从而起到了吸取痰液的作用。
【附图】:




























