授权专利
【实用新型】一种管路固定夹
专利号:CN201921916794.0
申请日:20191108
发明人:王盈; 张淑华; 孙莹
法律状态:授权
公开号:CN211611244U
授权公告日:2020-10-02
交易方式:转让; 许可
【摘要】:
本实用新型涉及固定夹技术领域,具体地说,涉及一种管路固定夹,包括固定架本体,固定架本体包括相对立设置的右半夹和左半夹,左半夹的底端熔融固定有卡扣,卡扣包括互相卡接配合的开口环和圆弧卡条,开口环的顶端内侧壁上熔融固定有套勾。本实用新型通过设置带卡扣的固定夹本体,通过固定夹本体将引流袋夹固到床单或患者衣角上,固定夹本体固定方便、省力,便于转移,卡扣结实紧固、不易变形损坏,且能有效避免针刺伤;同时在卡扣内设置套勾对导管进行二次固定、防脱管,降低因脱管或引流袋脱落引起的感染概率;另外选用优质聚丙烯制作固定夹本体和卡扣,其材质结实耐用、可反复使用,减少资源浪费。
【技术领域】:
本实用新型涉及固定夹技术领域,具体地说,涉及一种管路固定夹。
【实用新型内容】:
本实用新型的目的在于提供一种管路固定夹,以解决上述背景技术中提出的问题。
为实现上述目的,本实用新型提供如下技术方案:
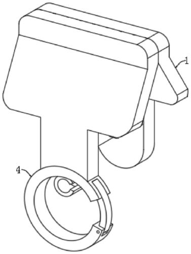
一种管路固定夹,包括固定架本体,所述固定架本体包括相对立设置的右半夹和左半夹,所述右半夹与所述左半夹通过销钉铰接,所述销钉上套设有复位弹簧,所述左半夹的底端熔融固定有卡扣,所述卡扣包括互相卡接配合的开口环和圆弧卡条,所述圆弧卡条的底端通过销轴铰接在所述开口环的开口下端,所述开口环的顶端内侧壁上熔融固定有套勾。
作为优选,所述右半夹包括右夹板,所述右夹板的底端一体成型有右延伸板,所述右延伸板的左侧面上并排设有两片右凸片。
作为优选,所述左半夹包括左夹板,所述左夹板的底端一体成型有左延伸板,所述左延伸板的右侧面上并排设有两片左凸片。
作为优选,当所述右半夹与所述左半夹互相配合时,两片所述左凸片位于两片所述右凸片之间,所述复位弹簧活动卡接在两片所述左凸片之间。
作为优选,所述开口环的开口顶端外侧壁上设有上凹槽,所述上凹槽的两边内侧壁上均设有半球凹陷,所述开口环的开口底端外侧壁上设有下凹槽。
作为优选,所述圆弧卡条与所述开口环形成圆环状,所述圆弧卡条的底端与所述下凹槽活动卡接,所述圆弧卡条的顶端两边外侧壁上均一体成型有半球凸块,所述圆弧卡条的顶端与所述上凹槽活动卡接。
作为优选,所述半球凸块与所述半球凹陷的尺寸相匹配且位置一一对应,当所述圆弧卡条与所述上凹槽卡接配合时,所述半球凸块与所述半球凹陷卡接配合。
与现有技术相比,本实用新型的有益效果是:
1.本实用新型通过设置带卡扣的固定夹本体,可以将引流袋挂在卡扣上,再通过固定夹本体将引流袋夹固到床单或患者衣角上,固定夹本体固定方便、省力,便于转移,卡扣结实紧固、不易变形损坏,且能有效避免针刺伤;
2.本实用新型通过在卡扣内设置套勾,可以对导管进行二次固定,提高管路的固定性、安全性,防脱管效果好,降低因脱管或引流袋脱落引起的感染概率;
3.本实用新型通过选用优质聚丙烯制作固定夹本体和卡扣,其材质结实耐用,可经清洗消毒后反复使用,减少资源浪费,避免大量的材料损耗。
【附图】:






























