授权专利
【实用新型】一种换药护理桌
专利号:CN201920554247.6
申请日:20190422
发明人:刘宝芝
法律状态:授权
公开号:CN209916518U
授权公告日:2020-01-10
交易方式:转让; 许可
【摘要】:
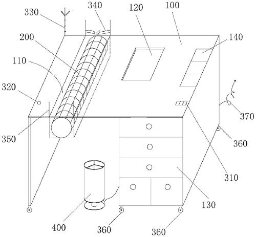
一种换药护理桌,涉及医用设备技术领域,所述换药护理桌包括桌体,所述桌体顶部设置有凹槽,所述凹槽内设置有限位筒,所述限位筒具有容置腔,所述限位筒至少其中一端具有与所述容置腔连通的开口,所述限位筒能够相对所述桌体转动,所述限位筒的侧壁设置有与所述容置腔连通的操作口。限位筒能够限定患者肢体的位置,使得患者无需耗力即可保证肢体处于适于换药的位置,医护人员可以通过转动限位筒调整患者的肢体角度,以便于换药操作。使用本申请提供的换药护理桌,便于医患配合进行换药操作,操作方便,舒适度高,换药效率高。
【技术领域】:
本实用新型涉及医用设备领域,具体而言,涉及一种换药护理桌。
【实用新型内容】:
本实用新型的目的在于提供一种换药护理桌,其能够提高在换药过程中患者舒适度,操作方便,便于将患者肢体固定于某一设定角度,便于换药,使得换药效率有所提高。
本实用新型的实施例是这样实现的:
一种换药护理桌,其包括桌体,所述桌体顶部设置有凹槽,所述凹槽内设置有限位筒,所述限位筒具有容置腔,所述限位筒至少其中一端具有与所述容置腔连通的开口,所述限位筒能够相对所述桌体转动,所述限位筒的侧壁设置有与所述容置腔连通的操作口。
在本实用新型较佳的实施例中,所述操作口处盖合有盖体,所述盖体与所述限位筒可拆卸连接,所述操作口的数量为多个。
在本实用新型较佳的实施例中,所述限位筒与驱动机构连接,所述驱动机构用于驱动所述限位筒相对所述桌体转动。
在本实用新型较佳的实施例中,所述桌体设置有第一控制按钮,所述第一控制按钮与所述驱动机构连接,所述第一控制按钮用于控制所述限位筒的转动方向。
在本实用新型较佳的实施例中,所述限位筒通过升降机构安装于所述凹槽,所述限位筒与所述升降机构转动连接,所述升降机构用于带动所述限位筒沿竖直方向移动。
在本实用新型较佳的实施例中,所述桌体设置有升降输液杆和固定绑带,所述升降输液杆和所述固定绑带均靠近于所述限位筒的开口。
在本实用新型较佳的实施例中,上述换药护理桌还包括顶盖,所述顶盖能够盖合于所述桌体的顶面。
在本实用新型较佳的实施例中,上述换药护理桌还包括旋转垃圾桶,所述旋转垃圾桶包括底座,所述底座上安装有桶体,所述桶体内设置有隔板,所述隔板将所述桶体分隔为多个垃圾容置区,所述桶体与所述底座转动连接。
在本实用新型较佳的实施例中,所述桌体的底部设置有滚轮,所述滚轮设置有刹车片,所述滚轮与所述桌体之间通过升降杆连接。
在本实用新型较佳的实施例中,所述桌体的顶面设置有置物区和多个垃圾槽,所述桌体设置有多个储物格。
本实用新型实施例的有益效果是:本申请提供的换药护理桌可应用于PICC换药,在使用的过程中,患者将手臂从限位筒的开口伸入限位筒的容置腔中,由于限位筒限定了患者手臂的位置,因此患者无需始终保持用力以使得肢体扭转的状态,且由于限位筒对于患者手臂的限位作用,减少了患者肢体位置变化的可能,使得在操作过程中,护士无需因患者改变了肢体位置而多次移动位置,降低了操作繁杂度,提高了操作效率,缩短了换药所需时间。此外,由于医护人员可以通过转动限位筒对患者的手臂角度进行调整,从而可以将患者的手臂调整到更适于操作的角度,因此可提升护士工作效率及护理质量,一定程度上缓解医疗资源紧张的问题。
【附图】:


































