授权专利
【实用新型】改进型无菌盒
专利号:CN201921546308.0
申请日:20190917
发明人:刘赛; 颜静; 陈旭
法律状态:授权
公开号:CN210904360U
授权公告日:2020-07-03
交易方式:转让; 许可
【摘要】:
本实用新型公开了一种改进型无菌盒,包括盒体、与盒体相配合的盒盖,盒体由底板、以及顺次连接的第一侧板、第二侧板、第三侧板和第四侧板构成,在底板上设有凸台,凸台靠近第一侧板的一端固定有注射器针帽装置,注射器针帽装置与凸台之间设有固定座,在凸台远离第一侧板的一侧间隔设有多个卡槽组,每个卡槽组包括对称设置的两个卡槽,两个卡槽分布在凸台的两侧,注射器的筒翼与卡槽相卡合;盒盖外侧设有附部,附部为标签。本申请可将每一支抽吸好药液的注射器单独放置在一个无菌盒内,避免反复开启无菌盘污染其他药液;而且盒盖起到密封作用,在盒盖上贴有标签,标签上可记录药品名称等,在无菌盒外方便查看药液名称。
【技术领域】:
本实用新型涉及医疗设备领域,更具体地,涉及一种改进型无菌盒。
【实用新型内容】:
有鉴于此,本实用新型提供了一种改进型无菌盒,包括盒体、与所述盒体相配合的盒盖,其中,
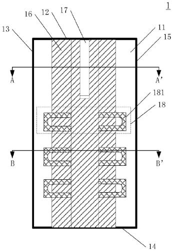
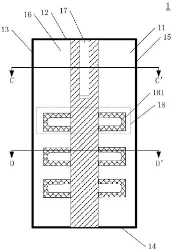
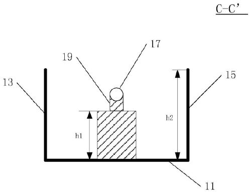
所述盒体由底板、以及顺次连接的第一侧板、第二侧板、第三侧板和第四侧板构成,所述第一侧板、第二侧板、第三侧板和第四侧板均与所述底板固定连接,所述第一侧板与所述第三侧板相对设置,所述第二侧板与所述第四侧板相对设置,在所述底板上设有凸台,所述凸台由所述第一侧板的内壁延伸至所述第三侧板的内壁,且所述凸台与所述第二侧板、所述第四侧板之间均具有间隔,所述凸台靠近所述第一侧板的一端固定有注射器针帽装置,所述注射器针帽装置与所述凸台之间设有固定座,在所述凸台远离所述第一侧板的一侧间隔设有多个卡槽组,每个卡槽组包括对称设置的两个卡槽,所述两个卡槽分布在所述凸台的两侧,注射器的筒翼与所述卡槽相卡合;
所述盒盖外侧设有附部,所述附部为标签。
可选的,所述凸台的高度为h1,所述第一侧板的高度为h2,其中1/5h2≤h1≤1/2h2。
可选的,所述凸台的截面为梯形或矩形。
可选的,所述标签与所述盒盖粘结。
可选的,所述凸台的材质为不锈钢。
可选的,所述凸台与所述第二侧板、所述第四侧板之间的间隔形成凹槽。
可选的,所述凹槽的剖面为倒梯形或矩形。
可选的,所述卡槽组的数量为三个。
与现有技术相比,本实用新型提供的改进型无菌盒,至少实现了如下的有益效果:
本申请可将每一支抽吸好药液的注射器单独放置在一个无菌盒内,避免反复开启无菌盘污染其他药液;而且盒盖起到密封作用,在盒盖上贴有标签,标签上可记录药品名称等,在无菌盒外方便查看药液名称;
本申请通过在无菌盒内固定一个注射器针帽装置,可直接将抽吸好药液的注射器针头放置入内,避免了针帽回套存在的弊端及污染问题;
本申请通过在凸台上设置多个卡槽组,卡槽组与注射器的筒翼相配合,卡槽可以卡主注射器的筒翼,避免注射器活动移位,而且每个卡槽可配合不同型号不同长度的注射器;
本申请由于凸台和第二侧板、第四侧板之间均具有间隔,形成凹槽,方便手进入取放注射器;
当然本申请的无菌盒可以单独使用也可以多个组合使用,方便临床选择。
当然,实施本实用新型的任一产品必不特定需要同时达到以上所述的所有技术效果。
通过以下参照附图对本实用新型的示例性实施例的详细描述,本实用新型的其它特征及其优点将会变得清楚。
【附图】:
































