授权专利
【实用新型】防压敷料、呼吸面罩组件和无创呼吸机
专利号:CN201921750923.3
申请日:20191017
发明人:唐丽华
法律状态:授权
公开号:CN211214859U
授权公告日:2020-08-11
交易方式:转让; 许可
【摘要】:
本实用新型涉及用于辅助呼吸的医疗器械技术领域,尤其涉及一种防压敷料、呼吸面罩组件和无创呼吸机。该防压敷料用于设置在呼吸面罩与人体面部之间;防压敷料包括减压层和硅胶层,减压层和硅胶层沿防压敷料的厚度方向叠置,减压层的背离硅胶层的一侧用于贴合人体面部,硅胶层的背离减压层的一侧用于贴合呼吸面罩。该呼吸面罩组件包括该防压敷料,该无创呼吸机包括该呼吸面罩组件。该防压敷料、该呼吸面罩组件和该无创呼吸机,能够提高该防压敷料的成型能力、防滑能力和重复使用性能,在患者在使用呼吸面罩时,能够避免患者出现压迫性损伤的同时,还能够避免患者出现刺激性角膜炎等并发症。
【技术领域】:
本实用新型涉及用于辅助呼吸的医疗器械技术领域,尤其涉及一种防压敷料、呼吸面罩组件和无创呼吸机。
【实用新型内容】:
本实用新型的第一目的在于提供一种能够在呼吸面罩上重复使用的防压敷料,以用于形成防压贴组件并配合呼吸面罩使用,在能够防止病人出现压迫性损伤的同时,还能够防止刺激性角膜炎等并发症。
本实用新型的第二目的在于提供一种呼吸面罩组件,在能够防止病人出现压迫性损伤的同时,还能够防止刺激性角膜炎等并发症。
本实用新型的第三目的在于提供一种无创呼吸机,在能够防止病人出现压迫性损伤及刺激性角膜炎等并发症的同时,使病人得到有效且舒适的无创正压辅助通气治疗。
为了实现上述目的,本实用新型提供了以下技术方案;
基于上述第一目的,本实用新型提供的防压敷料,所述防压敷料用于设置在呼吸面罩与人体面部之间;
所述防压敷料包括减压层和硅胶层,所述减压层和所述硅胶层沿所述防压敷料的厚度方向叠置,所述减压层的背离所述硅胶层的一侧用于贴合人体面部,所述硅胶层的背离所述减压层的一侧用于贴合呼吸面罩。
在上述任一技术方案中,可选地,还包括透气层,所述透气层叠置在所述减压层的背离所述硅胶层的一侧。
在上述任一技术方案中,可选地,所述减压层的材质为医用泡沫材质,所述透气层的材质为医用水胶体材质;
或者,所述减压层和所述透气层通过医用水胶体一体成型。
基于上述第二目的,本实用新型提供的呼吸面罩组件,包括呼吸面罩和防压贴组件,所述防压贴组件由上述任一技术方案所述的防压敷料形成;
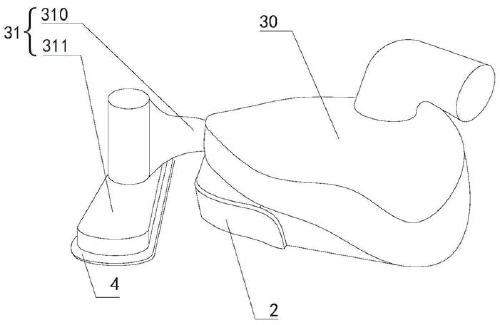
所述防压贴组件包括鼻梁贴,所述鼻梁贴包括第一部分和第二部分,所述第一部分用于夹设在人体鼻部和所述呼吸面罩之间;
所述第二部分连接在所述第一部分的用于靠近人体眼部的一端,所述第一部分的用于贴合人体鼻梁的表面为第一表面,所述第二部分相对于所述第一部分向背离所述第一表面所在平面的方向翻折。
在上述任一技术方案中,可选地,所述第二部分相对于所述第一表面翻折的角度不小于60°。
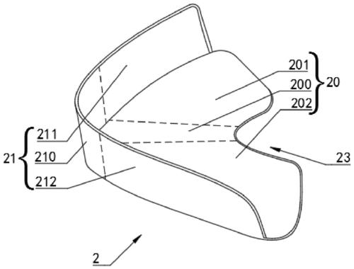
在上述任一技术方案中,可选地,所述第一部分包括第一连接部、第一侧翼和第二侧翼,所述第一侧翼的一端与所述第二侧翼的一端通过所述第一连接部相连接,所述第一侧翼的另一端与所述第二侧翼的另一端分别向远离所述第一连接部的方向延伸,所述第一侧翼与所述第二侧翼分别用于对应人体鼻部的两侧。
在上述任一技术方案中,可选地,所述第一侧翼与所述第二侧翼之间形成扇形空缺部,所述扇形空缺部的圆心角为40°-70°。
在上述任一技术方案中,可选地,所述呼吸面罩包括面罩本体和额头支撑部,所述面罩本体用于罩设人体口鼻,所述额头支撑部的两端分别为连接端和支撑端,所述连接端固定连接所述面罩本体,所述支撑端的形状被构造成与人体额头的形状相适配;
所述防压贴组件还包括额贴,所述额贴贴设在所述支撑端上。
在上述任一技术方案中,可选地,所述额贴的至少用于与人体额头贴合的部分由医用水胶体形成。
基于上述第三目的,本实用新型提供的无创呼吸机,包括上述任一技术方案所述的呼吸面罩组件。
采用上述技术方案,本实用新型的有益效果:
本实用新型提供的防压敷料,包括面向人体面部的减压层和面向呼吸面罩的硅胶层,能够提高该防压敷料的成型能力、防滑能力和重复使用性能,在患者在使用呼吸面罩时,能够避免患者出现压迫性损伤的同时,还能够避免患者出现刺激性角膜炎等并发症。
本实用新型提供的呼吸面罩组件包括该防压敷料,本实用新型提供的无创呼吸机包括该呼吸面罩组件,因而该呼吸面罩组件和该无创呼吸机能够实现该防压敷料的上述全部有益的技术效果。
【附图】:






























