授权专利
【实用新型】一种一次性使用无菌足部换药垫
专利号:CN201921687103.4
申请日:20191010
发明人:闫昌葆
法律状态:授权
公开号:CN211326400U
授权公告日:2020-08-25
交易方式:转让; 许可
【摘要】:
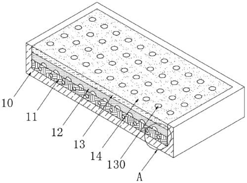
本实用新型涉及换药垫技术领域,具体地说,涉及一种一次性使用无菌足部换药垫,包括垫体,垫体的顶部外壁靠近四边处均粘接有防水挡块,防水挡块上开设有U型槽,垫体包括外垫,外垫的底部内壁上粘接有第一吸水垫,第一吸水垫的上方设有第二吸水垫,第二吸水垫的上方设有顶垫,顶垫的外壁上涂布有抗菌层,第二吸水垫的底部外壁上开设有多个弧形槽,第一吸水垫的顶部外壁上粘接有多个弹性垫,弹性垫的尺寸与弧形槽的尺寸相适配,且二者之间位置一一对应,弹性垫粘接在弧形槽内,该一次性使用无菌足部换药垫,可防止药水和脓液溢出,避免弄脏床单和被褥。
【技术领域】:
本实用新型涉及换药垫技术领域,具体地说,涉及一种一次性使用无菌足部换药垫。
【实用新型内容】:
本实用新型的目的在于提供一种一次性使用无菌足部换药垫,以解决上述背景技术中提出的问题。
为实现上述目的,本实用新型提供如下技术方案:
一种一次性使用无菌足部换药垫,包括垫体,所述垫体的顶部外壁靠近四边处均粘接有防水挡块,所述防水挡块上开设有U型槽,所述垫体包括外垫,所述外垫的底部内壁上粘接有第一吸水垫,所述第一吸水垫的上方设有第二吸水垫,所述第二吸水垫的上方设有顶垫,所述顶垫的外壁上涂布有抗菌层,所述第二吸水垫的底部外壁上开设有多个弧形槽,所述第一吸水垫的顶部外壁上粘接有多个弹性垫,所述弹性垫的尺寸与所述弧形槽的尺寸相适配,且二者之间位置一一对应,所述弹性垫粘接在所述弧形槽内。
优选的,所述U型槽的内壁上粘接有软垫。
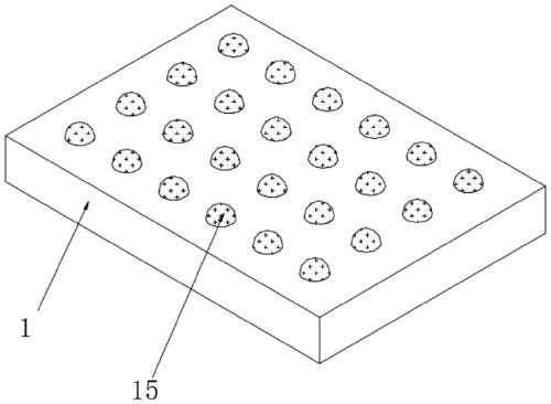
优选的,所述顶垫的内部开设有多个透气孔,且多个所述透气孔之间呈等间距排布。
优选的,所述垫体的底部外壁上粘接有多个防滑凸块。
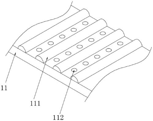
优选的,所述第一吸水垫的内部开设有多个吸水腔,所述第一吸水垫的顶部外壁上开设有多个吸水孔,所述吸水孔与所述吸水腔之间相互连通。
优选的,所述第一吸水垫采用高分子吸水树脂材料制成,所述第二吸水垫采用吸水海绵材料制成。
与现有技术相比,本实用新型的有益效果是:
1.该一次性使用无菌足部换药垫,通过第一吸水垫和第二吸水垫的设置,可将换药时洒落的药水和病人患足伤口处的脓液进行吸收,通过防水挡块的设置,可防止药水和脓液溢出,避免弄脏床单和被褥。
2.该一次性使用无菌足部换药垫,具有很好抗菌性,避免在换药时伤口感染,且换药垫的舒适度高。
【附图】:































