授权专利
【实用新型】一种医用儿科护理采血装置
专利号:CN201921952346.6
申请日:20191113
发明人:韩莹
法律状态:授权
公开号:CN211432945U
授权公告日:2020-09-08
交易方式:转让; 许可
【摘要】:
本实用新型公开了一种医用儿科护理采血装置,包括第一安装筒,所述第一安装筒上下两侧壁中心位置之间开设有安装槽,所述安装槽内滑动连接有安装杆,所述安装杆顶壁固定连接有拉杆,所述安装杆底壁固定连接有第二安装筒,所述安装槽上方两侧壁中间位置对称开设有凹槽,所述凹槽侧壁中间位置之间固定连接有钢化玻璃,所述安装杆滑动连接在弹簧内。本实用新型,采用手持式筒状设计,设置由弹簧伸出机构,采血装置位于弹簧机构内限位滑动式固定安装,可按压弹簧机构将采血机构伸出采血,采血完毕后可快捷的将采血装置取下保存完成采血工作,换上新的采血装置并进行下一组的采血工作,整体操作简单快捷且方便,卫生性较高。
【技术领域】:
本实用新型涉及护理采血技术领域,尤其涉及一种医用儿科护理采血装置。
【实用新型内容】:
本实用新型的目的是为了解决现有技术中存在的缺点,而提出的一种医用儿科护理采血装置。
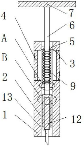
为了实现上述目的,本实用新型采用了如下技术方案:一种医用儿科护理采血装置,包括第一安装筒,所述第一安装筒上下两侧壁中心位置之间开设有安装槽,所述安装槽内滑动连接有安装杆,所述安装杆顶壁固定连接有拉杆,所述安装杆底壁固定连接有第二安装筒,所述安装槽上方两侧壁中间位置对称开设有凹槽,所述凹槽侧壁中间位置之间固定连接有钢化玻璃,所述安装杆滑动连接在弹簧内,所述第二安装筒内滑动连接有采血装置,所述安装槽内侧壁之间且位于凹槽上下两侧对称设置有限位板,所述限位板上下两侧壁中心位置之间开设有第一限位槽。
作为上述技术方案的进一步描述:
所述拉杆位于第一安装筒上方,所述拉杆底壁中心位置固定连接有安装杆顶壁。
作为上述技术方案的进一步描述:
所述第二安装筒为橡胶材质,所述第二安装筒滑动连接在安装槽内,所述第二安装筒位于下侧限位板下方。
作为上述技术方案的进一步描述:
上侧所述第一限位槽内固定连接有该侧的安装杆侧壁,下侧所述第一限位槽内滑动连接有该侧的安装杆侧壁,上侧所述限位板滑动连接在安装槽内,下侧所述限位板固定连接在安装槽侧壁。
作为上述技术方案的进一步描述:
所述第二安装筒的宽度大于第一限位槽的宽度,所述第二安装筒内底壁中心位置开设有第二限位槽。
作为上述技术方案的进一步描述:
所述采血装置包括采血管与采血针,所述第二限位槽内滑动连接有采血管,所述采血管底壁中心位置出液口固定连接有采血针。
作为上述技术方案的进一步描述:
所述弹簧位于两个限位板之间,所述弹簧两端固定连接有该侧限位板该侧侧壁。
本实用新型具有如下有益效果:
与现有技术相比,医用儿科护理采血装置,采用手持式筒状设计,设置由弹簧伸出机构,采血装置位于弹簧机构内限位滑动式固定安装,可按压弹簧机构将采血机构伸出采血,采血完毕后可快捷的将采血装置取下保存完成采血工作,换上新的采血装置并进行下一组的采血工作,整体操作简单快捷且方便,卫生性较高。
【附图】:




























