授权专利
一种乳腺外科术后胸带
公开(公告)号: CN221083979U
摘要附图:

标题: 一种乳腺外科术后胸带
专利类型: 实用新型
申请日: 2023-08-03
公开(公告)日: 2024-06-07
申请号: CN202322074588.2
发明人: 田甜
当前申请(专利权)人: 首都医科大学附属北京潞河医院
IPC分类号: A61F13/14
法律状态/事件: 授权
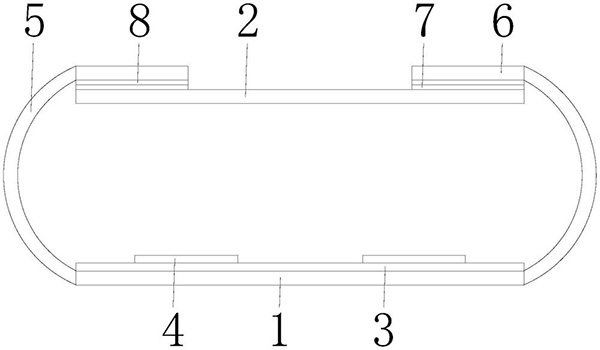
技术功效语段: [0010]该乳腺外科术后胸带,通过在基础层的内侧设置有抗菌层,并在抗菌层的内侧设置接触层,使接触层与患者伤口接触,利用接触层为医用纱布,抗菌层为抗菌面料,基础层为棉,三者均具有良好的吸水性与透气性,可以在保证透气的前提下吸收患者的汗液,同时利用抗菌面料防止细菌再生和繁殖,避免患者长时间佩戴产生大量细菌的情况。
摘要: 本实用新型公开了一种乳腺外科术后胸带,涉及医疗用品技术领域,包括基础层、背带,基础层相对应的两侧均固定连接有弹性绑带,基础层的内侧设置有抗菌层,抗菌层由抗菌面料制成,抗菌层的内侧设置有接触层,弹性绑带的一端固定连接有连接带,连接带的内侧设置有第二魔术贴,背带的外侧设置有第一魔术贴,本实用新型的有益效果为:通过在基础层的内侧设置有抗菌层,并在抗菌层的内侧设置接触层,使接触层与患者伤口接触,利用接触层为医用纱布,抗菌层为抗菌面料,基础层为棉,三者均具有良好的吸水性与透气性,可以在保证透气的前提下吸收患者的汗液,同时利用抗菌面料防止细菌再生和繁殖,避免患者长时间佩戴产生大量细菌的情况。

























