授权专利
一种雾化给药装置
公开(公告)号: CN221106633U
摘要附图:

标题: 一种雾化给药装置
专利类型: 实用新型
申请日: 2023-07-19
公开(公告)日: 2024-06-11
申请号: CN202321898802.X
发明人: 葛雨萌
当前申请(专利权)人: 首都医科大学附属北京潞河医院
IPC分类号: A61M11/00 | A61M31/00
法律状态/事件: 授权
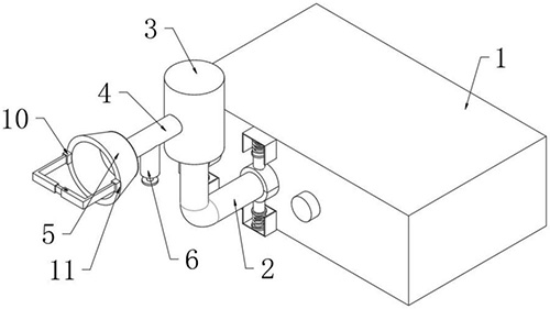
技术功效语段: [0013]1.本实用新型通过设有推动推环使得推杆带动活塞柱对给药管的流通空间进行局部堵塞,有利于控制给药管对药液的输送量,可根据患者所需的药液从而控制给药管的输送量,防止药液过多造成患者的不适,同时造成药液的浪费。[0014]2.本实用新型通过设有拉动连接柱将卡块卡入卡槽的内侧,有利于夹持环和夹持机构对导管进行夹持固定,对导管与主体之间连接进行加固,防止导管受到拉动时从主体的一侧脱落,从而对患者的治疗带来不便,造成患者无法及时进行雾化给药。
摘要: 本实用新型涉及雾化给药技术领域,且公开了一种雾化给药装置,包括主体,所述主体的一侧连通有导管,所述导管远离主体的一端连通有雾化药杯,所述雾化药杯的表面连通有给药管,所述给药管远离雾化药杯的一端连通有雾化面罩,所述给药管的表面连通有连接管,所述连接管的内侧活动连接有推杆,所述推杆的一端固定连接有推环,所述推杆的另一端固定连接有活塞柱,所述雾化面罩的表面一侧固定连接有第一安装块,本实用新型通过设有推动推环使得推杆带动活塞柱对给药管的流通空间进行局部堵塞,有利于控制给药管对药液的输送量,可根据患者所需的药液从而控制给药管的输送量,防止药液过多造成患者的不适,同时造成药液的浪费。

























