授权专利
一种胃管固定器
公开(公告)号: CN221181334U
摘要附图:

标题: 一种胃管固定器
专利类型: 实用新型
申请日: 2023-09-15
公开(公告)日: 2024-06-21
申请号: CN202322520958.0
发明人: 吴双
当前申请(专利权)人: 首都医科大学附属北京潞河医院
IPC分类号: A61M25/02 | A61M1/00 | A61J15/00
法律状态/事件: 授权
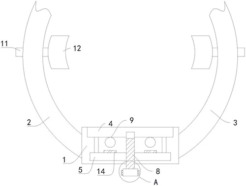
技术功效语段: [0014]与现有技术相比,本申请提供了一种胃管固定器,具备以下有益效果:[0015]该胃管固定器,通过第一魔术贴和第二魔术贴的配合将安装板固定在患者的鼻翼下方,将胃管穿过其中一个穿孔,通过旋转螺栓,使移动板在限位机构的配合下,在螺栓上进行移动作业,逐步向固定板靠近,当移动板与胃管的外侧壁贴合时停止旋转螺栓,通过固定板和移动板的配合对胃管进行固定限位作业,防止胃管滑动,通过护耳机构对患者的耳部进行防护作业,防止第一魔术贴和第二魔术贴对其造成压迫,造成患者的不适,由此实现了对胃管的固定作业,避免了使用胶布固定胃管对患者造成皮肤过敏等现象,且不会经常更换减轻了医护人员的劳动轻度,提高了工作效率,实用性较高。
摘要: 本申请涉及固定器的技术领域,特别是涉及一种胃管固定器,其通过第一魔术贴和第二魔术贴的配合将安装板固定在患者的鼻翼下方,将胃管穿过其中一个穿孔,通过固定机构对胃管进行固定作业,防止胃管滑动,从而实现了对胃管的固定作业,避免了使用胶布固定胃管对患者造成皮肤过敏等现象,且不会经常更换减轻了医护人员的劳动轻度,提高了工作效率,实用性较高;安装板的两端分别固定安装有第一魔术贴和第二魔术贴,安装板上设置有固定机构,固定机构包括移动板和胃管,安装板的顶端固定安装有固定板,移动板上开设有螺纹孔,螺纹孔内螺装有螺栓,螺栓的一端与固定板的内端转动连接,移动板通过限位机构对其进行限位作业。

























